EasyManua.ls Logo

GE P444 - Figure 4: Automatic Selection of a Disturbance - Option

GE P444
622 pages
Print Icon
To Next Page IconTo Next Page
To Next Page IconTo Next Page
To Previous Page IconTo Previous Page
To Previous Page IconTo Previous Page
Loading...
P44x/EN SC/H
b6
SCADA Communications
(SC) 12
-26 MiCOM P40 Agile
P442, P444
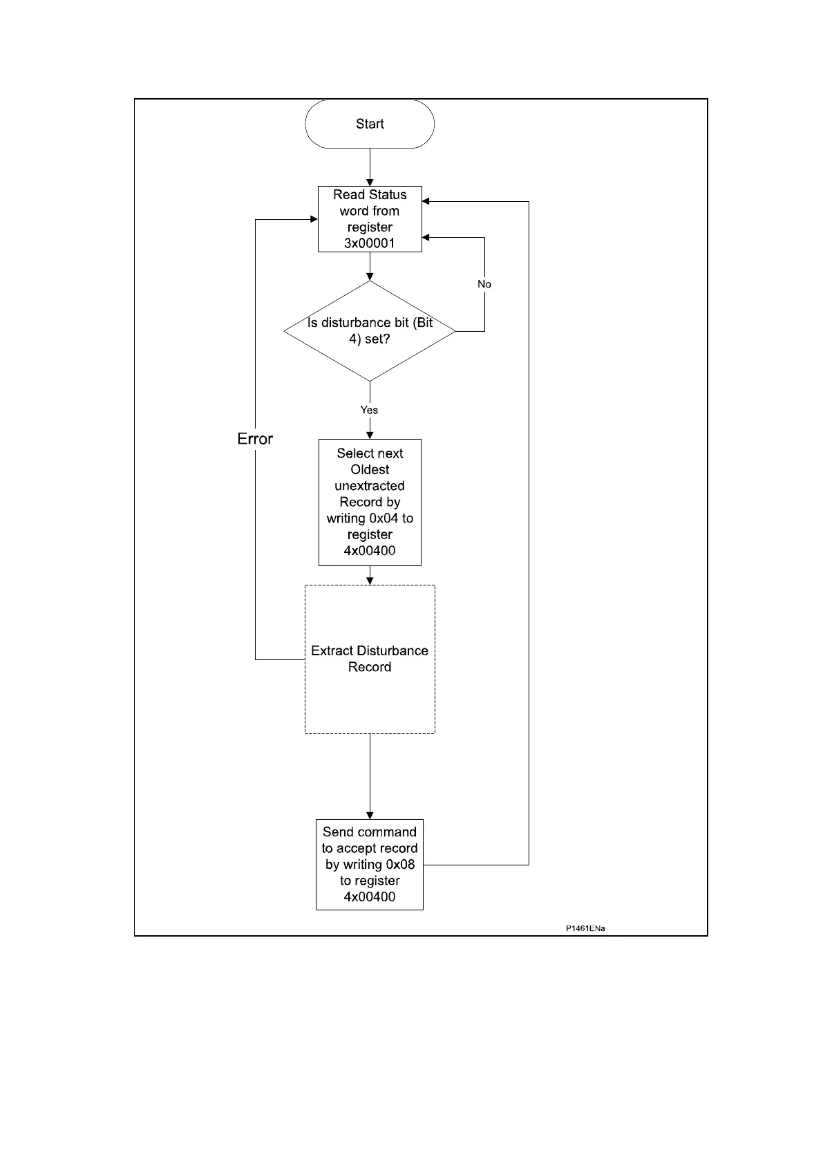
Figure 4: Automatic selection of a disturbance – option 1
3.6.2.4 Automatic extraction procedure – option 2
The second method used for automatic extraction is shown in the following figure. This also
shows the acceptance of the disturbance record once the extraction is complete:

Table of Contents

Related product manuals