EasyManua.ls Logo

GE P444 - Page 577

GE P444
622 pages
Print Icon
To Next Page IconTo Next Page
To Next Page IconTo Next Page
To Previous Page IconTo Previous Page
To Previous Page IconTo Previous Page
Loading...
Installation
P44x/EN IN/Hb
6
MiCOM P40 Agile
P442, P444 (IN) 14-
19
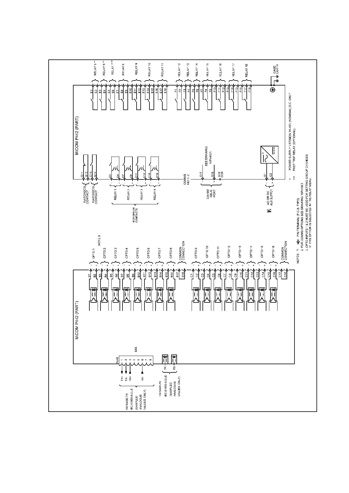
7.4 MICOM P442 with NCIT and High Break contacts - Wiring Diagram (4/5)
10P44205-1
W02944

Table of Contents

Related product manuals