EasyManua.ls Logo

GE P444 - Page 584

GE P444
622 pages
Print Icon
To Next Page IconTo Next Page
To Next Page IconTo Next Page
To Previous Page IconTo Previous Page
To Previous Page IconTo Previous Page
Loading...
P44x/EN IN/H
b6
Installation
(IN) 14
-26 MiCOM P40 Agile
P442, P444
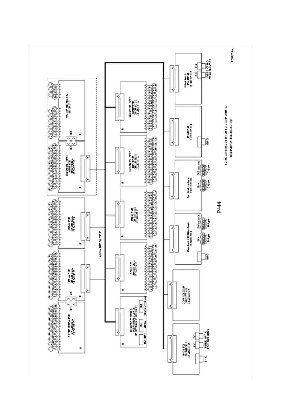
8.5 MICOM P444 Wiring Diagram (4/4)

Table of Contents

Related product manuals