EasyManua.ls Logo

GRAPHTEC FC9000-75 - Page 34

GRAPHTEC FC9000-75
227 pages
Print Icon
To Next Page IconTo Next Page
To Next Page IconTo Next Page
To Previous Page IconTo Previous Page
To Previous Page IconTo Previous Page
Loading...
FC9000-UM-251-9370 4-11
4 OPER ATIONS
Continued
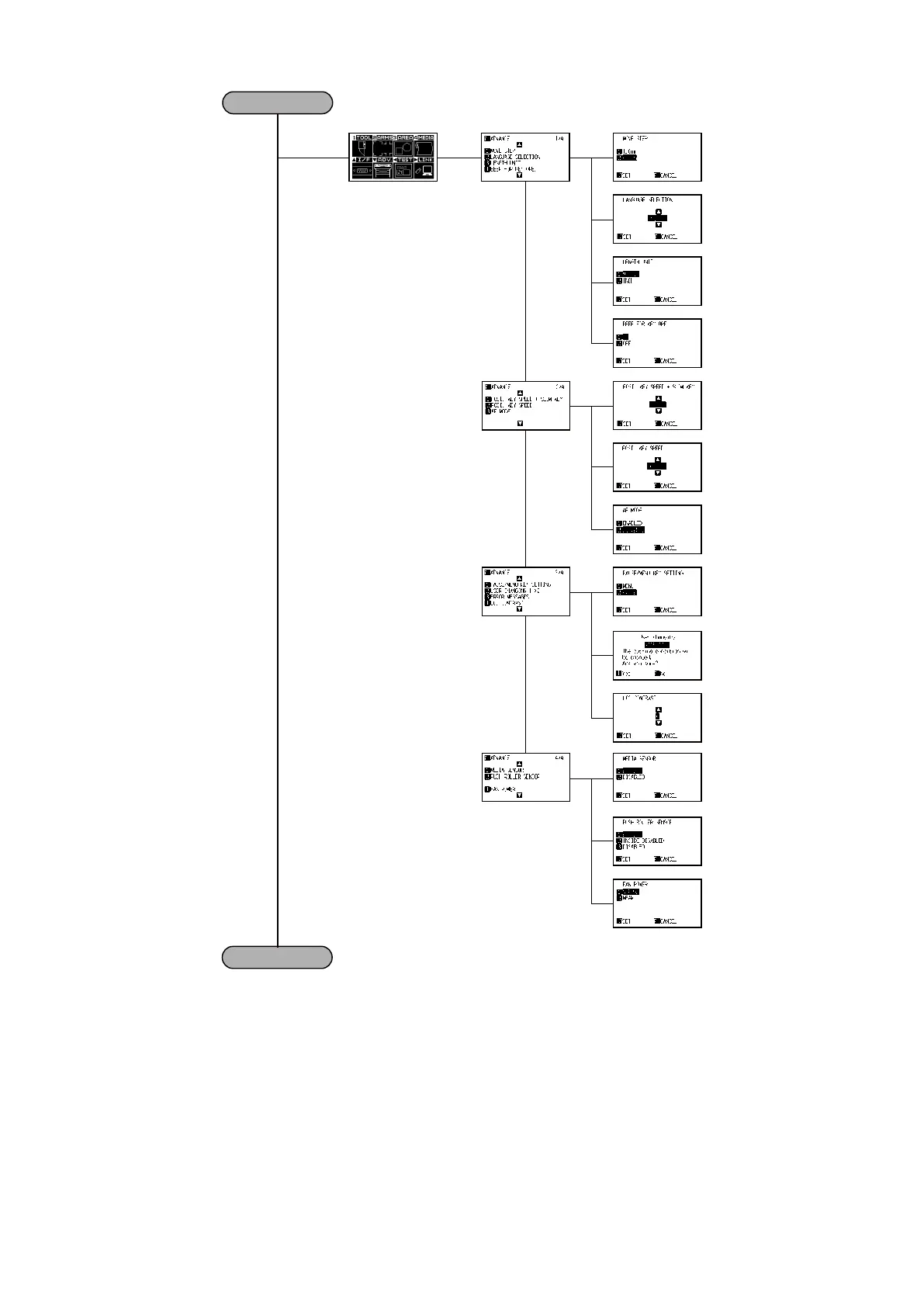
MENU Screen
ADVANCE
Screen 2/4
ADVANCE
Screen 3/4
ADVANCE
Screen 4/4
ADVANCE
Screen 1/4
Default Screen (Continued)
[PAUSE/MENU] [] [1]
[2]
[3]
[1]
[2]
[3]
[4]
[1]
[2]
[4]
[1]
[2]
[4]

Table of Contents

Related product manuals