EasyManua.ls Logo

Intellian v100NX - Mast Designing (Installation Example)

Intellian v100NX
113 pages
Print Icon
To Next Page IconTo Next Page
To Next Page IconTo Next Page
To Previous Page IconTo Previous Page
To Previous Page IconTo Previous Page
Loading...
19
Planning Installation
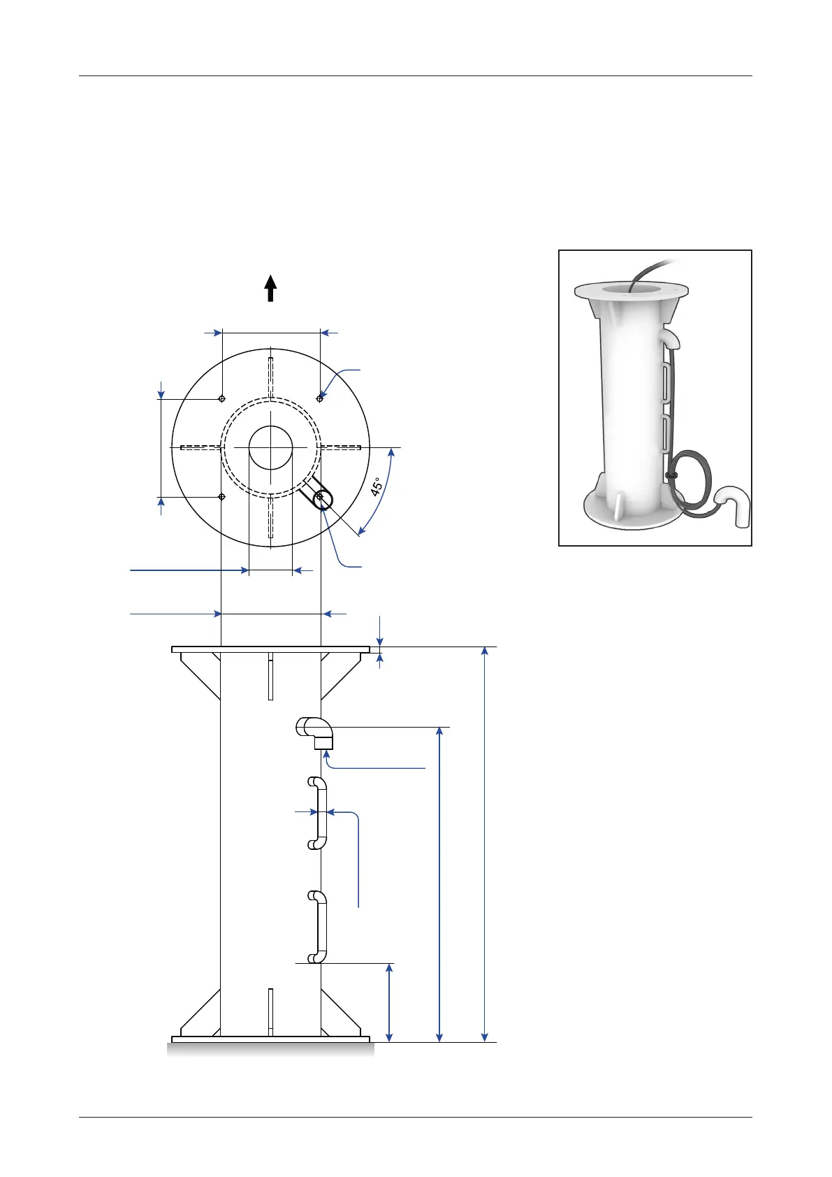
Mast Designing (Installation Example)
The ADU mast must be designed to carry the weight of the ADU unit. The mast must also be able to withstand
on-board vibrations and wind speeds on the radome.
Option 1. When Placing Cable Inside Mast
ø110 mm (4.3")
ø45 mm (1.77")
Gooseneck
1000 mm (39.37")
800 mm (31.49")
200 mm (7.87")
Min. 10 mm (0.39")
Max. 20 mm (0.78")
ø22 mm (0.86")
4- ø13 mm (0.51")
247.5 mm (9.74")
247.5 mm (9.74")
ø254 mm (10")
BOW
Figure: Recommended Size of Mast (Option 1)

Table of Contents

Related product manuals