EasyManua.ls Logo

Janome JR3403N-AC

Janome JR3403N-AC
134 pages
To Next Page IconTo Next Page
To Next Page IconTo Next Page
To Previous Page IconTo Previous Page
To Previous Page IconTo Previous Page
Loading...
Specifications
Desktop Robot JR3000
COM-
(GND)
Internal Power Supply DC24V
#sysOut1
#sysOut16
External
Device
+
-
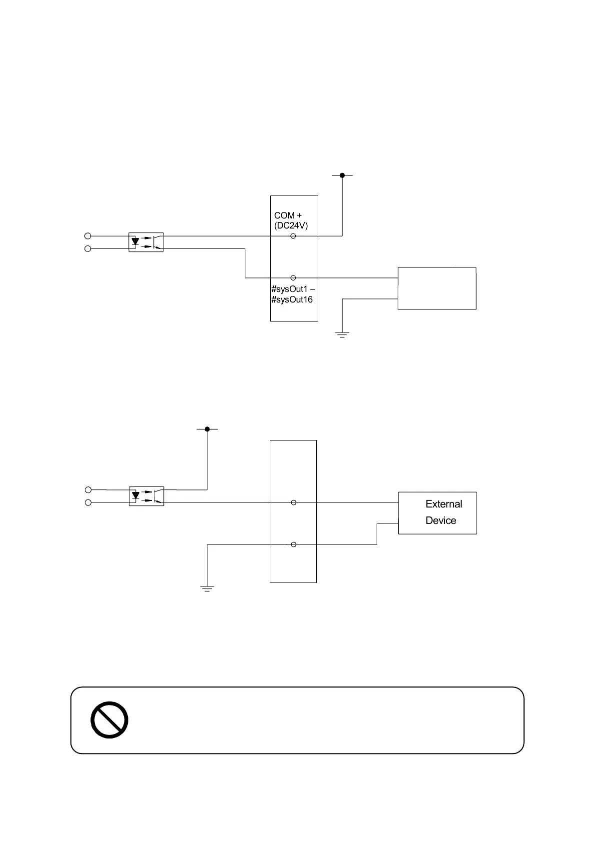
7.9 Output Signal (PNP)
When using an external power supply
When using the internal power supply (optional)
Assigning the wrong wiring to the I/O can damage the internal circuits.
External Power Supply DC24V
#sysOut1
#sysOut16
COM +
(DC24V)
+
-
External
Device
57

Table of Contents

Related product manuals