EasyManua.ls Logo

Keithley 6482 - Page 132

Keithley 6482
350 pages
Print Icon
To Next Page IconTo Next Page
To Next Page IconTo Next Page
To Previous Page IconTo Previous Page
To Previous Page IconTo Previous Page
Loading...
6482-901-01 Rev. A / August 2012 Return to Section Topics 9-9
Model 6482 Dual-Channel Picoammeter / Voltage Source Reference Manual Section 9: Measurement Concepts
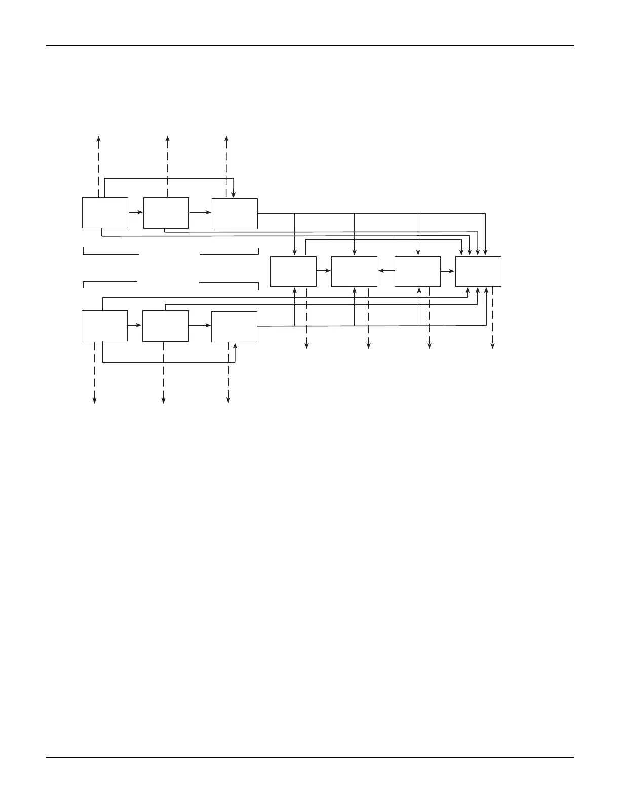
Figure 9-7
CALC block data flow
CALC3
(REL)
CALC4
(REL)
Data store
buffer
Bypass if
CALC1
disabled
Bypass if
CALC2
disabled
SENS1
(Sample
buffer)
SENS2
(Sample
buffer)
READ?,
FETC?
DATA?
READ?,
FETC?
DATA?
CALC1:DATA? CALC3:DATA?
CALC3:DATA? CALC4:DATA?
CALC2
(R,G,P,M)
CALC6
(DELTA)
CALC7
(LIMITS)
CALC5
(RATIO)
CALC1
(R,G,P,M)
CALC8:DATA?
:TRAC:DATA?
CALC6:DATA?CALC7:DATA?CALC5:DATA?
CHANNEL 1
CHANNEL 2

Table of Contents

Related product manuals