EasyManua.ls Logo

KI ROGUE 2 - AJ. High Mount Angle Adjustable Flip under Footrest

Default Icon
73 pages
Print Icon
To Next Page IconTo Next Page
To Next Page IconTo Next Page
To Previous Page IconTo Previous Page
To Previous Page IconTo Previous Page
Loading...
49
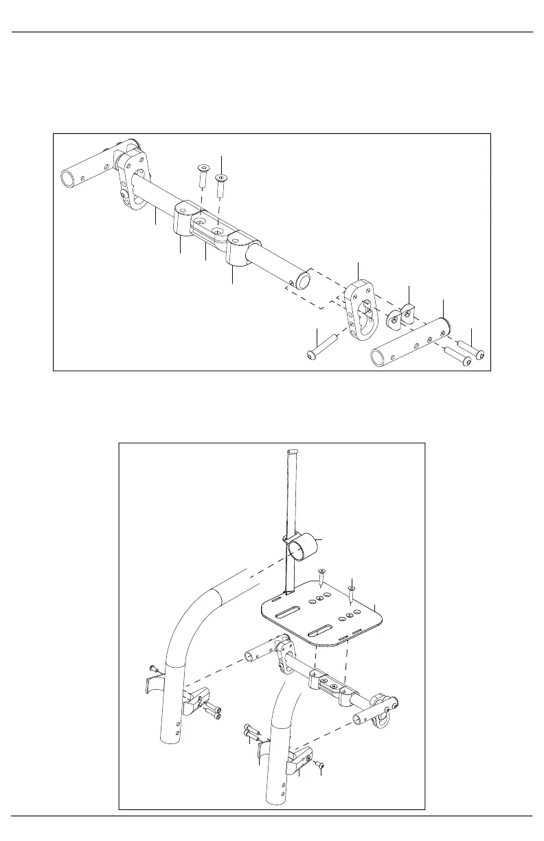
High Mount Angle Adjustable Flip Under Footrest
1. Install the pivots (B) and clamp (D) onto the footrest tube (A) and secure with two screws (C) using a
5mm Allen wrench.
2. Install the bracket (F) onto the end of the footrest tube and secure with screw (E) using a 4mm Allen
wrench.
3. Install the footrest flip mount tube (H) onto the bracket with two screws (I) and two saddles (G) using a
4mm Allen wrench.
4. Install foot platform (C) onto pivots with two screws (B) using a 5mm Allen wrench. While installing the
foot platform, slide the flip foot strap (A) onto frame tube.
5. Install the top and bottom footplate clamps (E & F) onto the footrest tubes and the frame tubes with
three screws (D & G) using a 4mm Allen wrench and a 5mm Allen wrench.
A
B
B
C
D
E
F
G
H
I
A
B
C
D
E
F
G

Related product manuals