EasyManua.ls Logo

KI ROGUE 2 - Backrest Height Measurent Reference

Default Icon
73 pages
Print Icon
To Next Page IconTo Next Page
To Next Page IconTo Next Page
To Previous Page IconTo Previous Page
To Previous Page IconTo Previous Page
Loading...
6
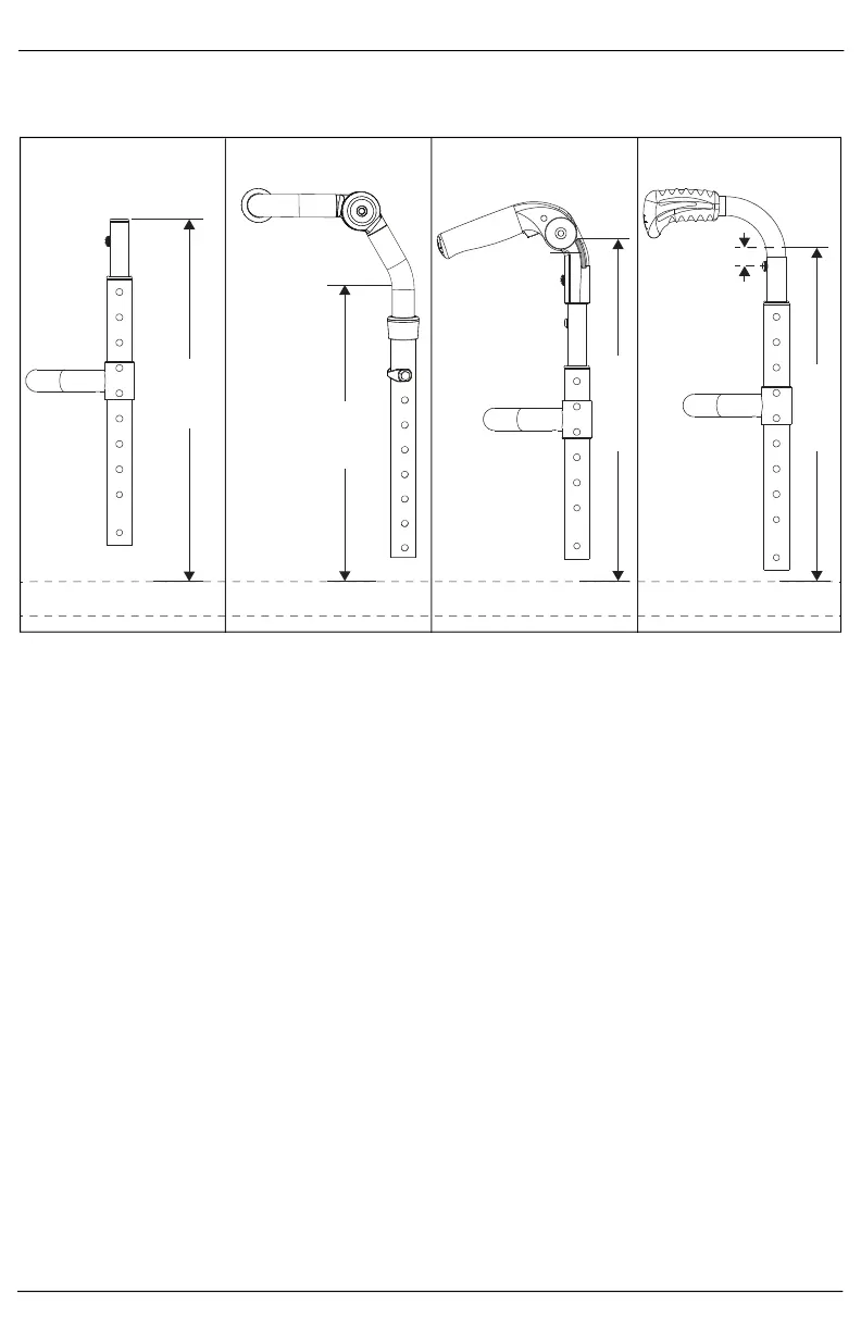
Backrest Height Measurent Reference
*Backrest height should always be measured to the top of the upholstery when upholstery is present.
*Tolerance for backrest height is 0.75" from customer selection for all back cane styles except the rocker
back which is a tolerance of 1.5".
No Push Handle Standard Push Handle and
All Additional Backrest Styles
Fold Down Push Handle
Backrest
Height
(Measured to
top of
backrest tube)
Backrest
Height
(Measured
to 0.75”
above the
rivnut)
Backrest
Height
(Measured
to top of
tension
strap slot)
.75”
Seat Frame (Size Varies)
Tension Strap Slot
Seat Frame (Size Varies)
Backrest
Height
(Measured
to the point
of bend)
Seat Frame (Size Varies)Seat Frame (Size Varies)
All Backrests with Adj. Handle
(Includes Recline Back)

Related product manuals