EasyManua.ls Logo

Lexmark X820E - I;O Pwb

Lexmark X820E
406 pages
Print Icon
To Next Page IconTo Next Page
To Next Page IconTo Next Page
To Previous Page IconTo Previous Page
To Previous Page IconTo Previous Page
Loading...
Repair Information 4-89
4025-XXX
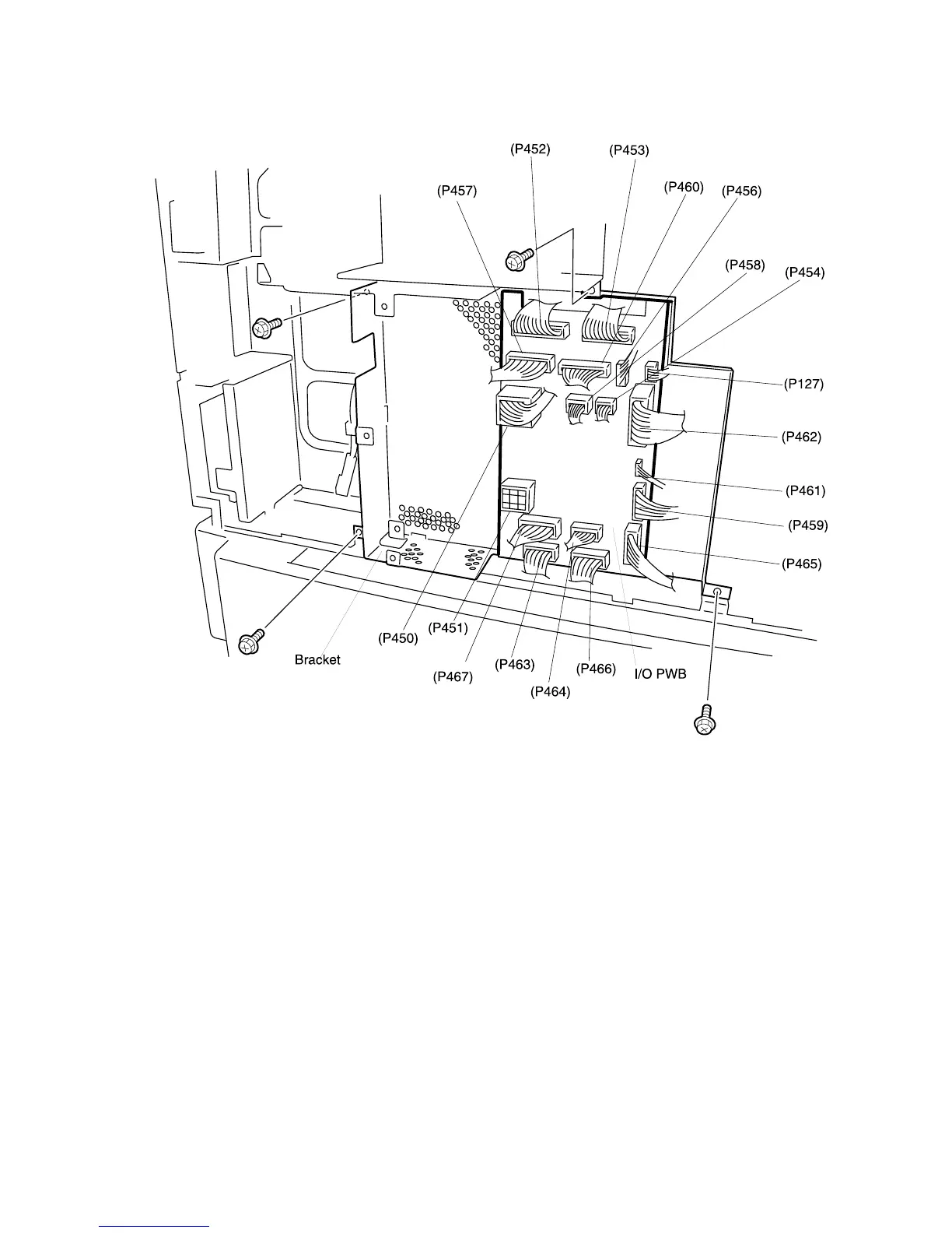
I/O PWB
Removal
1.
Remove the Rear Cover.
2. Disconnect the seventeen P/Js from the I/O PWB.
3. Remove the four screws securing the I/O PWB Bracket to the printer frame and
remove the Bracket.
4. Remove the six screws securing the I/O PWB to the Bracket and remove the PWB.
Replacement
1. Position the I/O PWB against the Bracket as shown in the illustration.
2. Use six screws to secure the I/O PWB to the Bracket.
3. Reinstall the Bracket onto the printer frame as shown in the illustration. Make sure
you do not trap any wires between the Bracket and the printer frame.
4. Use four screws to secure the I/O PWB Bracket to the printer frame.
5. Reconnect the seventeen P/Js to the I/O PWB.
6. Reinstall the Rear Cover.

Table of Contents

Other manuals for Lexmark X820E

Related product manuals