EasyManua.ls Logo

Lexmark X820E - ESS Assembly

Lexmark X820E
406 pages
Print Icon
To Next Page IconTo Next Page
To Next Page IconTo Next Page
To Previous Page IconTo Previous Page
To Previous Page IconTo Previous Page
Loading...
4-98 Service Manual
4025-XXX
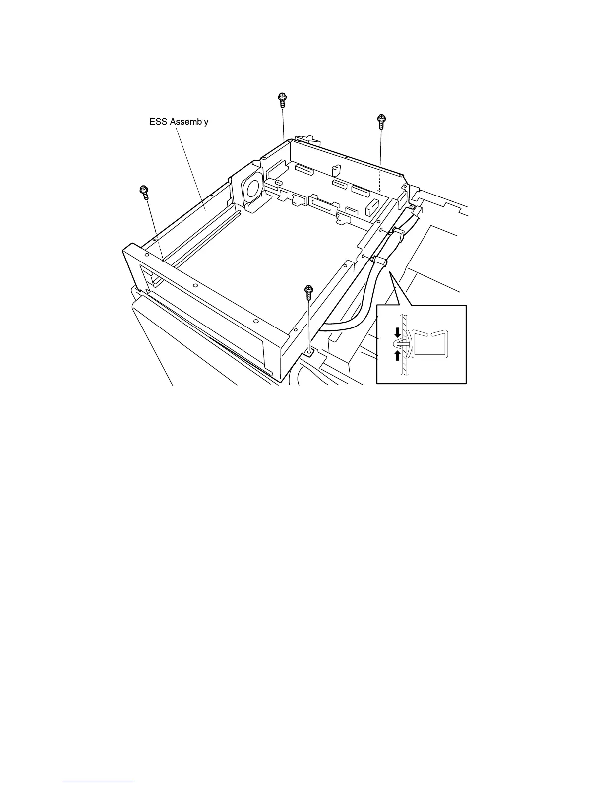
ESS Assembly
Removal
1. Remove the ESS Cover.
2. Disconnect J400, J401, J402, J403, J404, J408, J409, and J411 from the MCU
PWB.
3. Release the wire harness from the wire clamps and pull the harnesses free of the
ESS Assembly.
4. Remove the four screws securing the ESS Assembly to the printer frame, and
remove the Assembly.
Replacement
1. Remove the ESS Cover.
2. Reinstall the ESS Assembly onto the printer frame.
3. Use four screws to secure the ESS Assembly to the printer frame.
4. Route the wire harness along the outside back of the ESS Assembly and through
the grommet at the rear of the Assembly.
5. Use the wire clamps to secure the wire harness to the Box. There are two clamps
along the outside back of the ESS Box, and one clamp on the interior of the ESS
Assembly.
6. Reconnect J400, J401, J402, J403, J404, J408, J409, and J411 to the MCU PWB.
7. Reinstall the ESS Cover.

Table of Contents

Other manuals for Lexmark X820E

Related product manuals