EasyManua.ls Logo

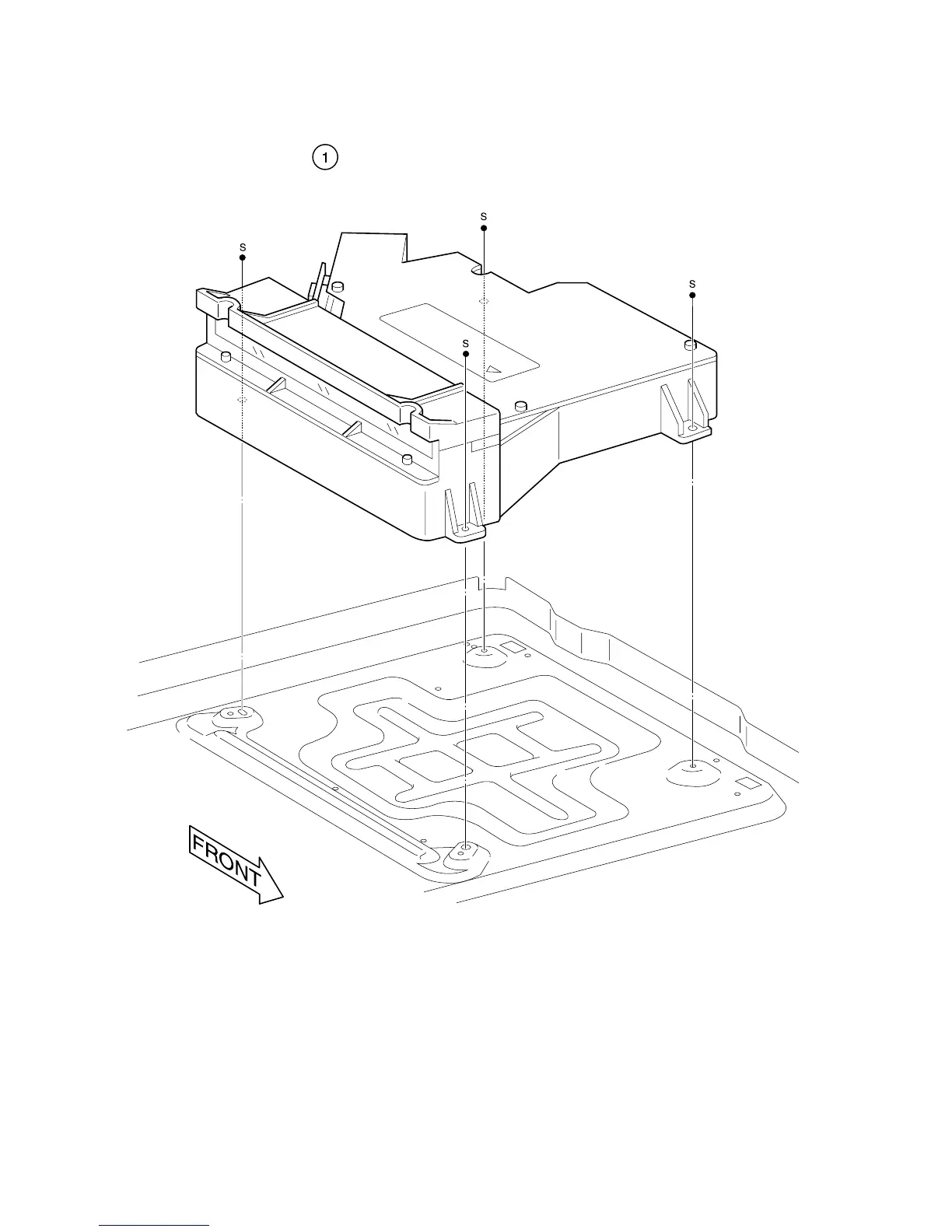
Lexmark X820E - Assembly 15: Printhead Assembly

Lexmark X820E
406 pages
Print Icon
To Next Page IconTo Next Page
To Next Page IconTo Next Page
To Previous Page IconTo Previous Page
To Previous Page IconTo Previous Page
Loading...
7-30 Service Manual
4025-XXX
Assembly 15: Printhead Assembly

Table of Contents

Other manuals for Lexmark X820E

Related product manuals