EasyManua.ls Logo

Lexmark X820E - Mechanical Drive for Offset

Lexmark X820E
406 pages
Print Icon
To Next Page IconTo Next Page
To Next Page IconTo Next Page
To Previous Page IconTo Previous Page
To Previous Page IconTo Previous Page
Loading...
1-44 Service Manual
4025-XXX
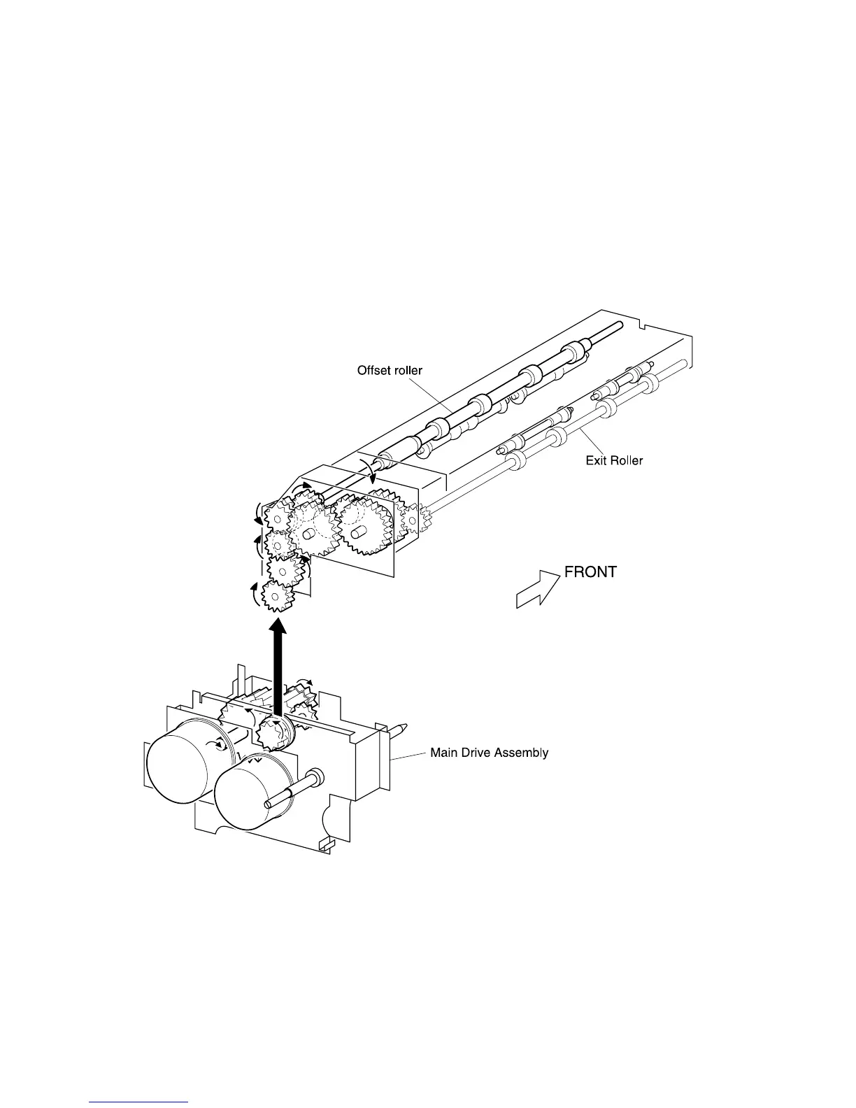
Mechanical Drive for Offset
The Offset Motor provides mechanical drive for the Offset Rolls. The Offset Motor
transmits drive to the Offset Bracket. If the printer is running in Offset mode, the MCU
switches on the Offset Motor. The Motor drives the Offset Bracket toward the front of the
printer. The Bracket pushes the Offset Roll along with it. The Offset Rolls drive one sheet
of paper into the Face Down Output Tray. The MCU switches the Offset Motor on again,
and the Motor drives the Offset Bracket back to the rear of the printer, taking the Offset
Roll with it. The Offset Rolls drive the next sheet of paper, slightly offset from the last
sheet, into the Face Down Output Tray.

Table of Contents

Other manuals for Lexmark X820E

Related product manuals