EasyManua.ls Logo

Linde H 80 D - Removing and Installing the Cylinder Head

Linde H 80 D
282 pages
Print Icon
To Next Page IconTo Next Page
To Next Page IconTo Next Page
To Previous Page IconTo Previous Page
To Previous Page IconTo Previous Page
Loading...
Service Training
Section 4.9
Page 6
12.05
4.9.1.5 REMOVING AND INSTALLING THE CYLINDER HEAD
REMOVING THE CYLINDER HEAD
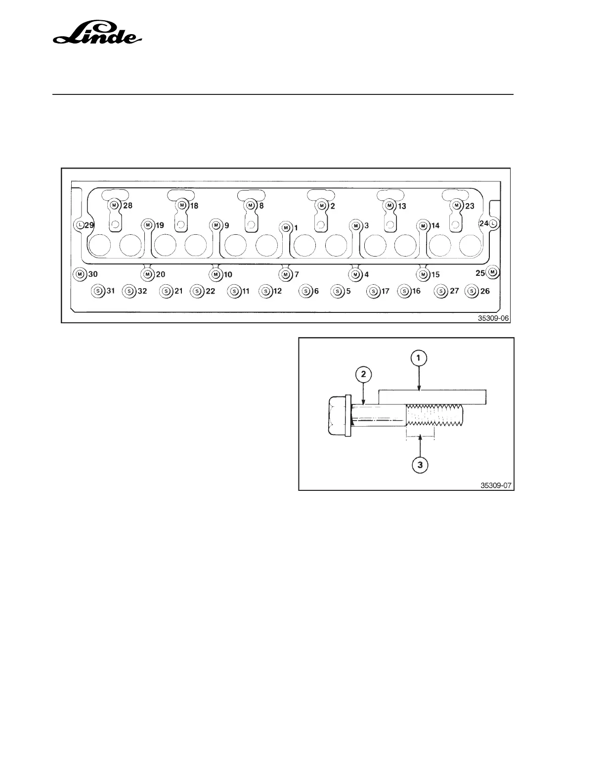
- Loosen cylinder head screws uniformly and
gradually in an alternating spiral sequence, as shown
in the diagram.
- Check cylinder head screws, with a ruler (1), for
deformation of the screw shaft (2).
- Check the screw for a visible reduction of thread
size close to the screw shaft (3).
- If the check on the cylinder head screws gives
cause to reject them, deformed or stretched screws
are to be replaced.
INSTALLING THE CYLINDER HEADS
- Clean the sealing face of the cylinder head and engine block. No residue of sealant must remain on the
sealing faces.
- Check cylinder head for distortion.
WARNING The sealing face of the cylinder head must be overhauled in the following cases:
Deformation and distortion of the cylinder head by more than 0.05 mm.
Deep scratches.

Table of Contents

Related product manuals