EasyManua.ls Logo

Maple Systems Silver Series - Page 20

Maple Systems Silver Series
272 pages
Print Icon
To Next Page IconTo Next Page
To Next Page IconTo Next Page
To Previous Page IconTo Previous Page
To Previous Page IconTo Previous Page
Loading...
1010-1001a, Rev 02
16 Sil ver Se ries In stal la tion & Op er a tion Man ual
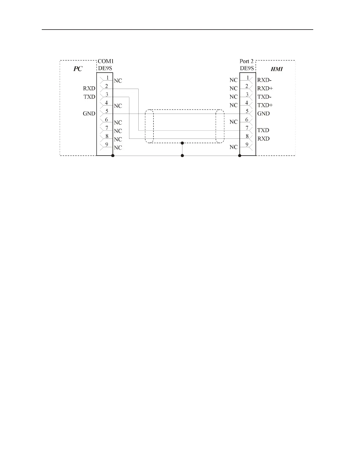
OIT to PC Se rial Port Pin As sign ments

Table of Contents