EasyManua.ls Logo

Micros Systems Workstation 4 - WS4 on Adjustable Stand with Rear LCD Customer Display

Micros Systems Workstation 4
128 pages
Print Icon
To Next Page IconTo Next Page
To Next Page IconTo Next Page
To Previous Page IconTo Previous Page
To Previous Page IconTo Previous Page
Loading...
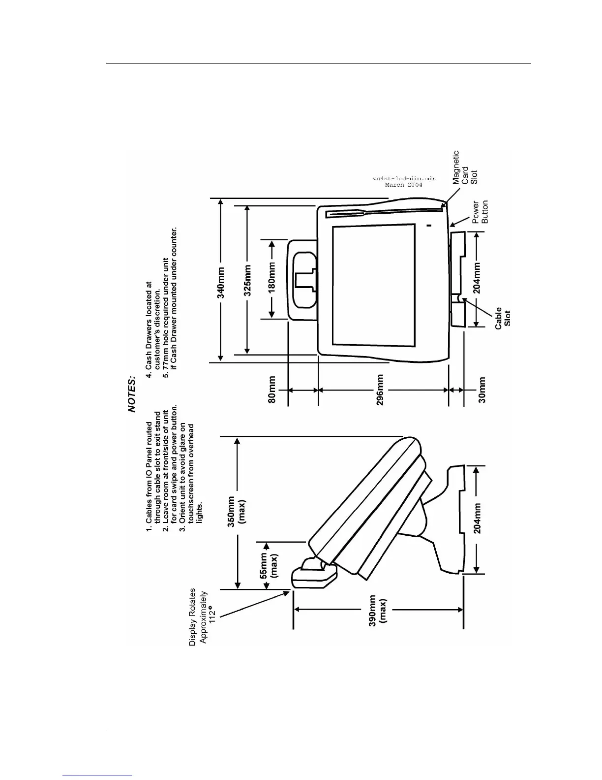
Workstation 4 Setup Guide A-5
Equipment Dimensions
WS4 on Adjustable Stand with Rear LCD Customer Display
WS4 on Adjustable Stand with Rear LCD Customer Display

Table of Contents

Related product manuals