EasyManua.ls Logo

Micros Systems Workstation 4 - Cash Drawer Extension Cable

Micros Systems Workstation 4
128 pages
Print Icon
To Next Page IconTo Next Page
To Next Page IconTo Next Page
To Previous Page IconTo Previous Page
To Previous Page IconTo Previous Page
Loading...
B-14 Workstation 4 Setup Guide
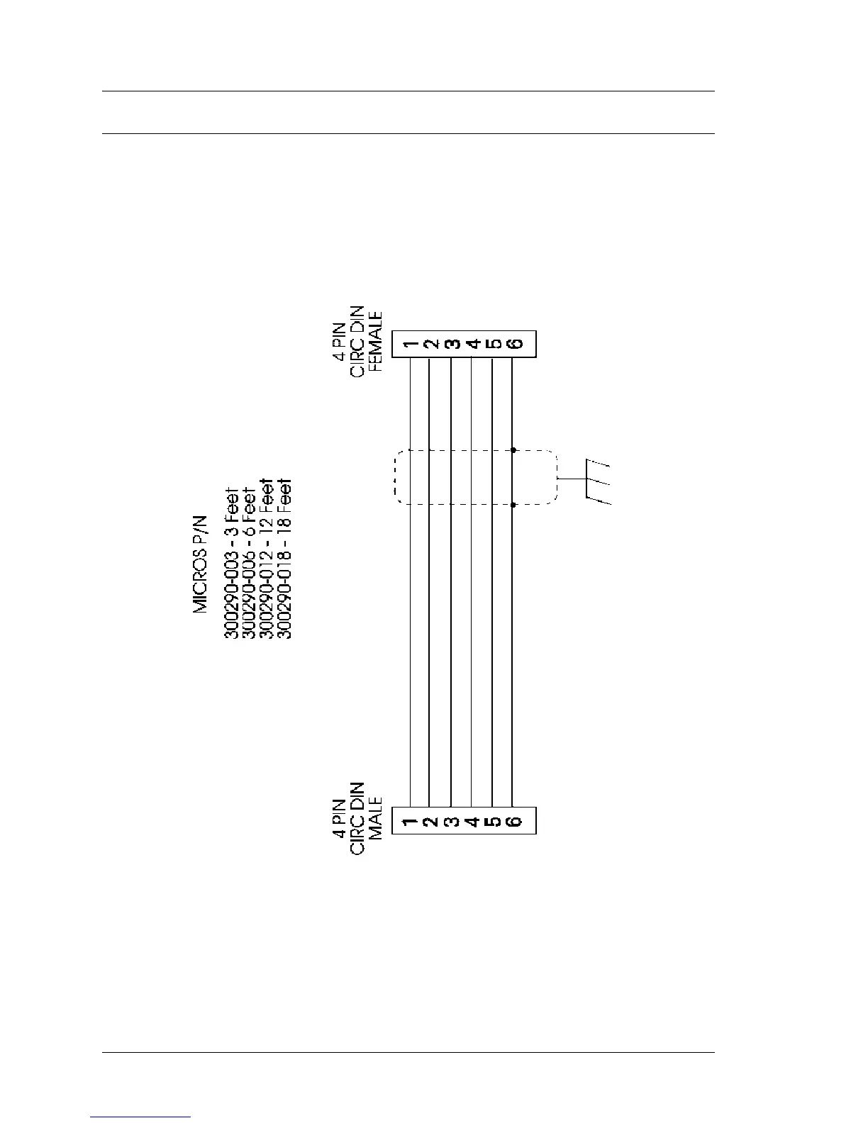
Connector and Cable Diagrams
Hook-up Cables
Cash Drawer Extension Cable

Table of Contents

Related product manuals