EasyManua.ls Logo

Micros Systems Workstation 4 - Cash Drawer

Micros Systems Workstation 4
128 pages
Print Icon
To Next Page IconTo Next Page
To Next Page IconTo Next Page
To Previous Page IconTo Previous Page
To Previous Page IconTo Previous Page
Loading...
Workstation 4 Setup Guide A-9
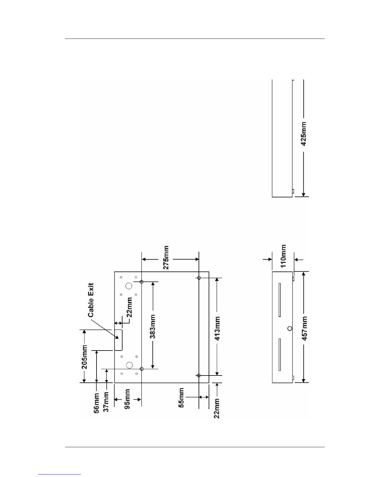
Equipment Dimensions
Cash Drawer
Cash Drawer

Table of Contents

Related product manuals