EasyManua.ls Logo

Midland SP-8 - Page 66

Midland SP-8
145 pages
Print Icon
To Next Page IconTo Next Page
To Next Page IconTo Next Page
To Previous Page IconTo Previous Page
To Previous Page IconTo Previous Page
Loading...
www.roadwidener.com
60
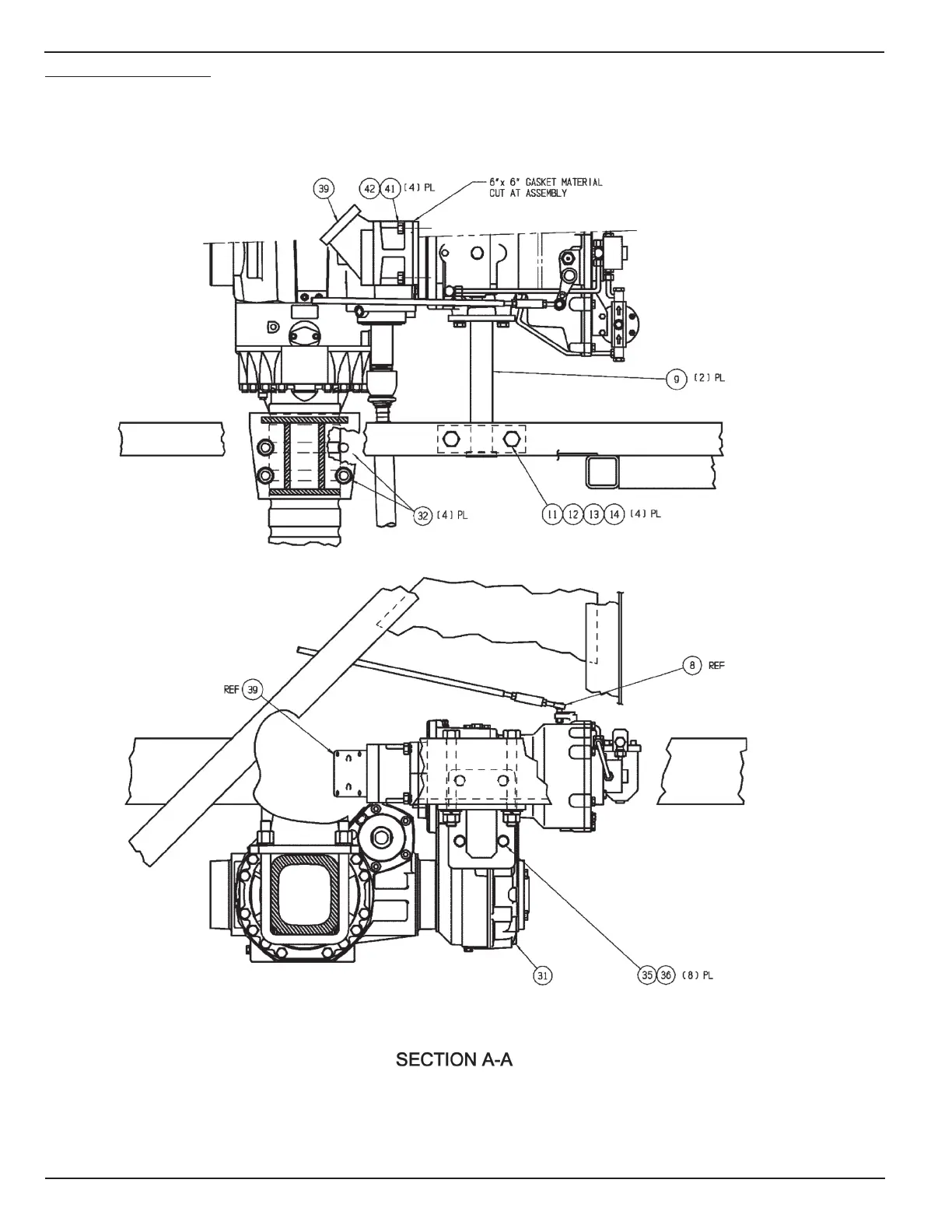
Model SP-8 &10
CHAssIs AssemBly

Table of Contents

Related product manuals