EasyManua.ls Logo

Midland SP-8 - 6 S Ervice a Nd M Aintenance; Service Intervals

Midland SP-8
145 pages
Print Icon
To Next Page IconTo Next Page
To Next Page IconTo Next Page
To Previous Page IconTo Previous Page
To Previous Page IconTo Previous Page
Loading...
www.roadwidener.com
36
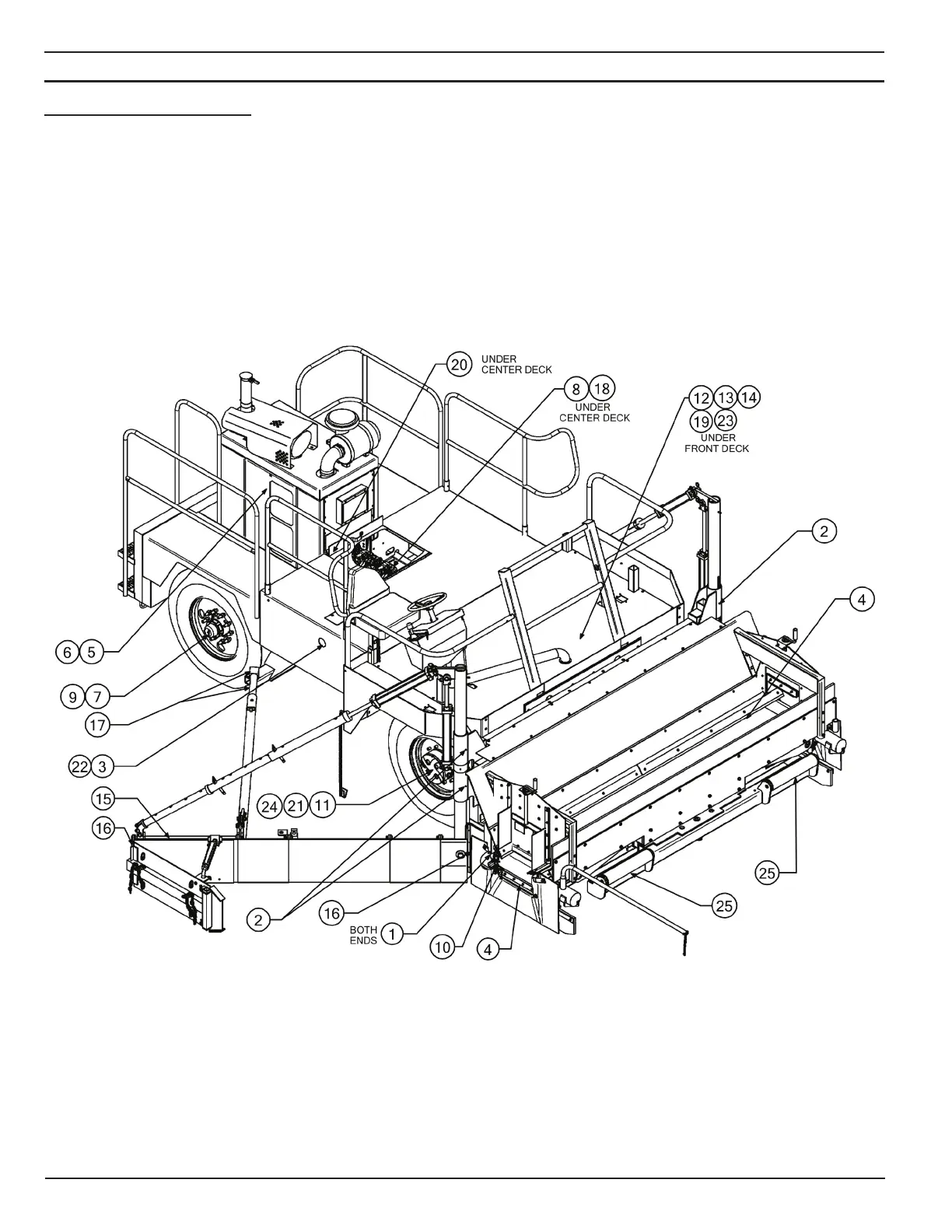
Model SP-8 &10
6. servICe And mAIntenAnCe
6.1 servICe IntervAls

Table of Contents

Related product manuals