EasyManua.ls Logo

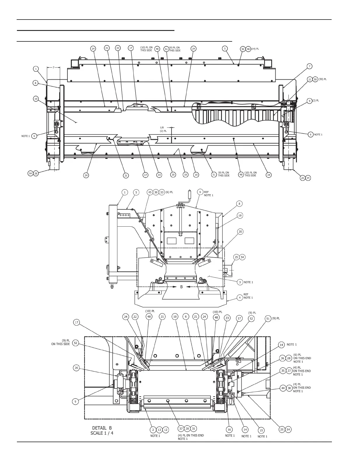
Midland SP-8 - 100 C Aha; Conveyor and Hopper Assembly, Dual Sided, SPD-808

Midland SP-8
145 pages
Print Icon
To Next Page IconTo Next Page
To Next Page IconTo Next Page
To Previous Page IconTo Previous Page
To Previous Page IconTo Previous Page
Loading...
www.roadwidener.com
66
Model SP-8 &10
Note 1: Left side is assembled as a
mirror of right side
10. Conveyor And Hopper AssemBly
TOP VIEW
RIGHT SIDE VIEW
10.1 Conveyor And Hopper AssemBly, duAl sIded, spd-808

Table of Contents

Related product manuals