EasyManua.ls Logo

Nokia N72 - Flash LED HW Baseband Troubleshooting

Nokia N72
302 pages
Print Icon
To Next Page IconTo Next Page
To Next Page IconTo Next Page
To Previous Page IconTo Previous Page
To Previous Page IconTo Previous Page
Loading...
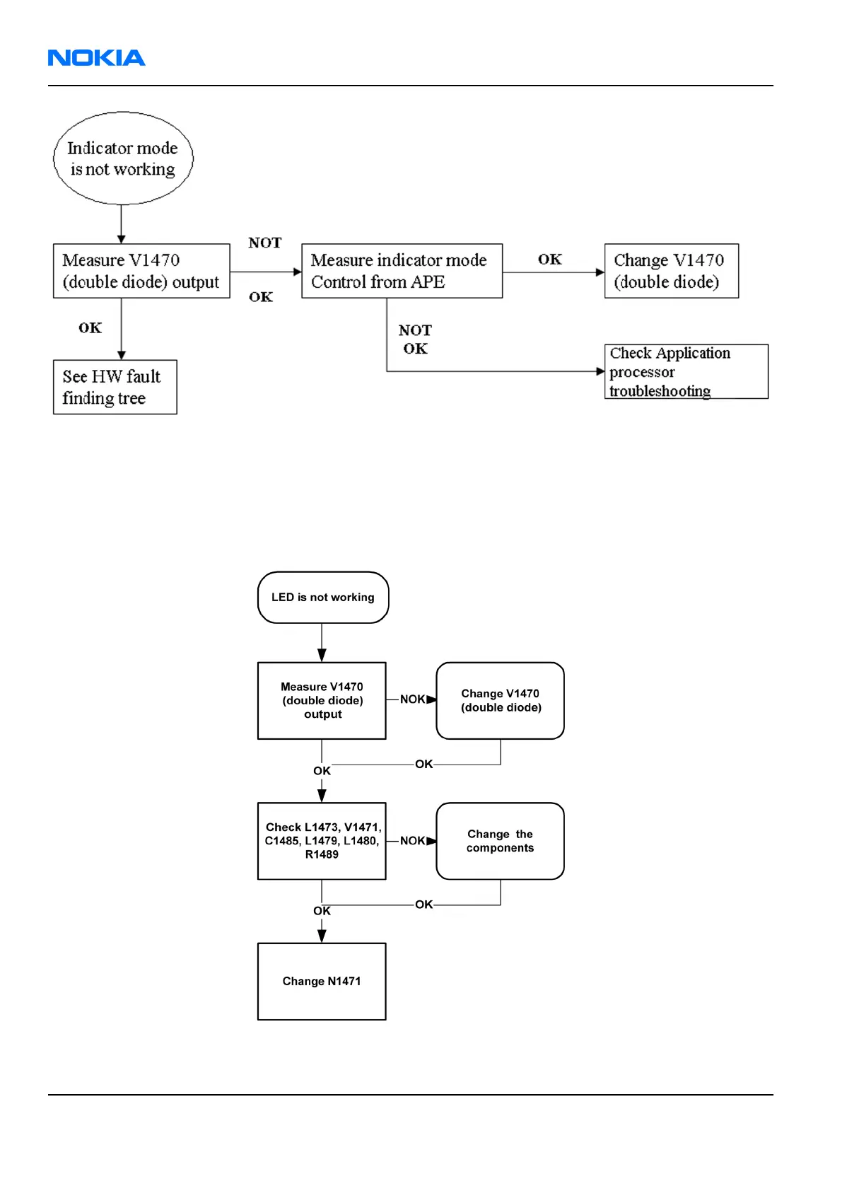
Flash LED HW baseband troubleshooting
Troubleshooting flow
If there are problems in the flash LED driver circuit, the testing procedure is complicated, because the driver
circuit output cannot be reliably measured without the load (LED). Load (LED) is always disconnected from
the output when the phone is disassembled.
RM-180
Nokia Customer Care Camera Module Troubleshooting
Page 8 –26 COMPANY CONFIDENTIAL Issue 1
Copyright © 2006 Nokia. All rights reserved.

Table of Contents

Other manuals for Nokia N72

Related product manuals