EasyManua.ls Logo

Nokia N72 - Bluetooth;Fm Module

Nokia N72
302 pages
Print Icon
To Next Page IconTo Next Page
To Next Page IconTo Next Page
To Previous Page IconTo Previous Page
To Previous Page IconTo Previous Page
Loading...
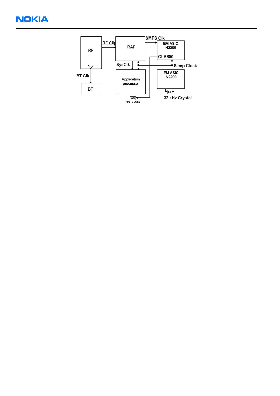
Figure 90 Clocking scheme
Bluetooth/FM module
The device has a module version of Bluetooth, in which BT and FM radio solutions are combined to a single
BTHFM module. The module includes all external components except the antenna. However, the two solutions
are electrically isolated from one another.
Bluetooth
Bluetooth is an open specification for wireless communication of data and voice. It is based on a low-cost
short-range radio link between two or more devices. The traditional example is a link between a mobile
phone and a laptop computer or a headset.
Bluetooth provides a fully digital link for communication between a master unit and one or more slave units.
The system provides a radio link that offers a high degree of flexibility to support various applications and
product scenarios. Data and control interface for a low power RF module is provided. The data rate is
regulated between the master and the slave.
The device Bluetooth is based on the BC4 BT ASIC (BTHFM1.0).
The UART1 interface handles the transfer of control and data information between the application processor
and the Bluetooth system. The PCM interface is used for audio data transfer between the RAP ASIC and the
Bluetooth system.
The following block diagram shows how the Bluetooth system is connected to the host side.
RM-180
Nokia Customer Care System Module
Page 9 –14 COMPANY CONFIDENTIAL Issue 1
Copyright © 2006 Nokia. All rights reserved.

Table of Contents

Other manuals for Nokia N72

Related product manuals