EasyManua.ls Logo

Olympus EVOLT E-300 - All-Frame Erase

Olympus EVOLT E-300
212 pages
Print Icon
To Next Page IconTo Next Page
To Next Page IconTo Next Page
To Previous Page IconTo Previous Page
To Previous Page IconTo Previous Page
Loading...
7
Playback
121
Erasing images
All-frame erase
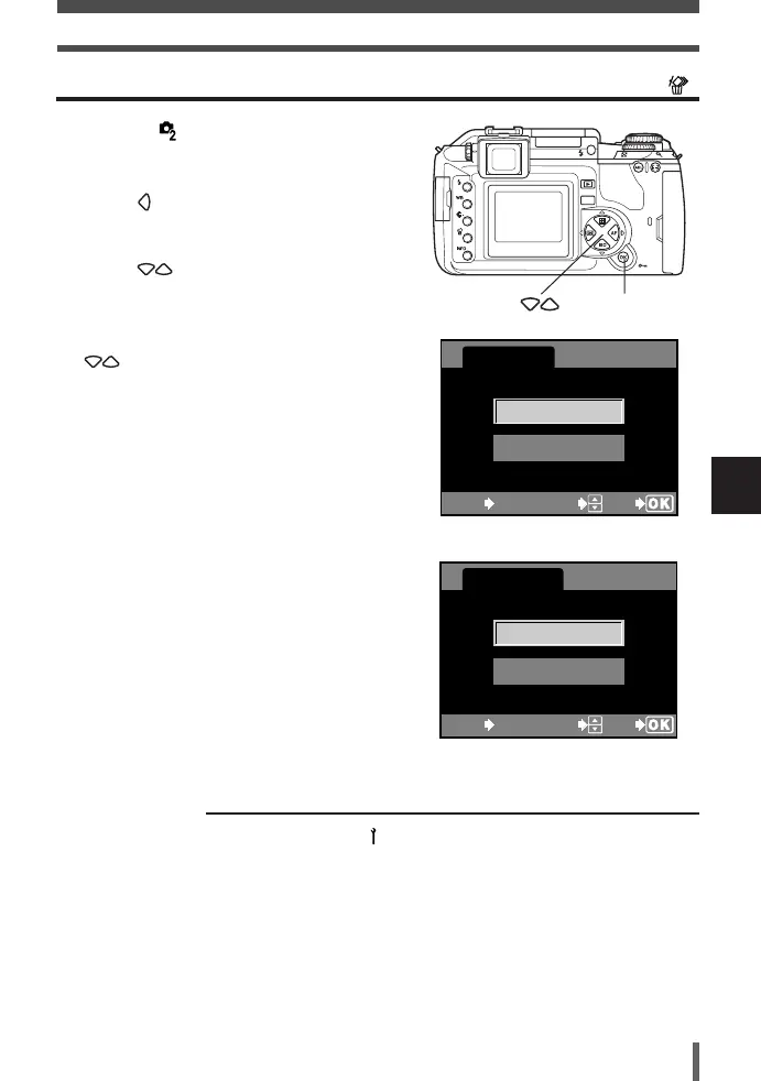
1
Menu TTCARD SETUP
~ How to use the menus (P. 25)
2
Press .
The CARD SETUP screen is displayed.
3
Press to select ALL ERASE,
then press the OK button.
The ALL ERASE screen is displayed.
4
Press to select YES, then press
OK.
All frames will be erased.
CARD SETUP screen
FORMAT
ALL ERASE
CARD SETUP
CANCEL SELECT
GO
MENU
ALL ERASE screen
YES
NO
ALL ERASE
CANCEL SELECT
GO
MENU
ERASE SETTING
In the ERASE SETTING screens in the menu, you can set the screen cursor
setting to YES. ~ “ERASE SETTING” (P. 128)
2
MENU
OK button
07E-300EN-P107 04.10.22 11:30 AM Page 121

Table of Contents

Other manuals for Olympus EVOLT E-300

Related product manuals