EasyManua.ls Logo

Omron SYSMAC C200HS - Page 159

Omron SYSMAC C200HS
230 pages
Print Icon
To Next Page IconTo Next Page
To Next Page IconTo Next Page
To Previous Page IconTo Previous Page
To Previous Page IconTo Previous Page
Loading...
Appendix BSpecifications
145
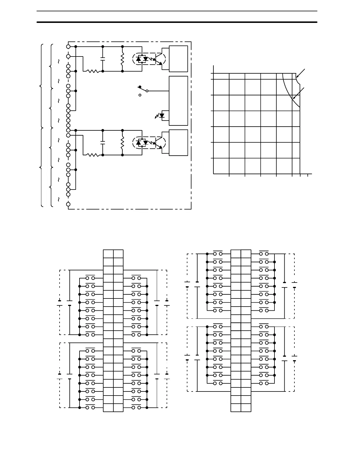
Circuit Configuration and Simultaneously Usable Points
Input indicator
Ambient Temperature (°C)
Input Voltage:
24.0 VDC
Input Voltage:
26.4 VDC
Simultaneously Usable Points
Indicator
switch
circuit
COM
IN00
IN07
COM
IN08
IN15
A
1000 pF
680 W
5.6 kW
Internal
Circuit
COM
IN00
IN07
COM
IN08
IN15
COM
IN00
IN07
COM
IN08
IN15
Internal
Circuit
1000 pF
680 W
5.6 kW
COM
IN00
IN07
COM
IN08
IN15
CN1
CN1
CN2
SW
B
A
B
CN2
0 10203040505560
0
10
20
30
40
50
60
64
Terminal Connections
I/O word “m”I/O word “m+1”
CN1
I/O word “m+3”I/O word “m+2”
CN2
1
2
3
4
5
6
7
8
9
B
0
1
1
2
2
3
3
4
4
5
5
6
6
7
7
8
COM
9
A
+
24 VDC
10
11
12
13
14
15
16
17
18
8
10
9
10
11
12
13
14
15
COM
+
24 VDC
11
12
13
14
15
16
17
18
NC
19
NC
20
NC
19
NC
20
0
1
2
3
4
5
6
7
COM
+
8
9
10
11
12
13
14
15
COM
+
24 VDC
24 VDC
0
1
1
2
2
3
3
4
4
5
5
6
6
7
7
8
COM
9
A
0
1
1
2
2
3
3
4
4
5
5
6
6
7
7
8
COM
9
B
+
+
8
10
9
11
10
12
11
13
12
14
13
15
14
16
15
17
COM
18
8
10
9
10
11
12
13
14
15
COM
+
+
11
12
13
14
15
16
17
18
NC
19
NC
20
NC
19
NC
20
24 VDC
24 VDC
24 VDC
24 VDC
Note 1. I/O word “m” is determined by the I/O number setting (m = IR 030 + 2 × I/O number).

Table of Contents

Other manuals for Omron SYSMAC C200HS

Related product manuals