EasyManua.ls Logo

Panasonic HDC-SD5 - Playback Smoothness on Other Devices; Scene Transition Issues on External Devices

Panasonic HDC-SD5
136 pages
Print Icon
To Next Page IconTo Next Page
To Next Page IconTo Next Page
To Previous Page IconTo Previous Page
To Previous Page IconTo Previous Page
Loading...
Others
122
VQT1H64
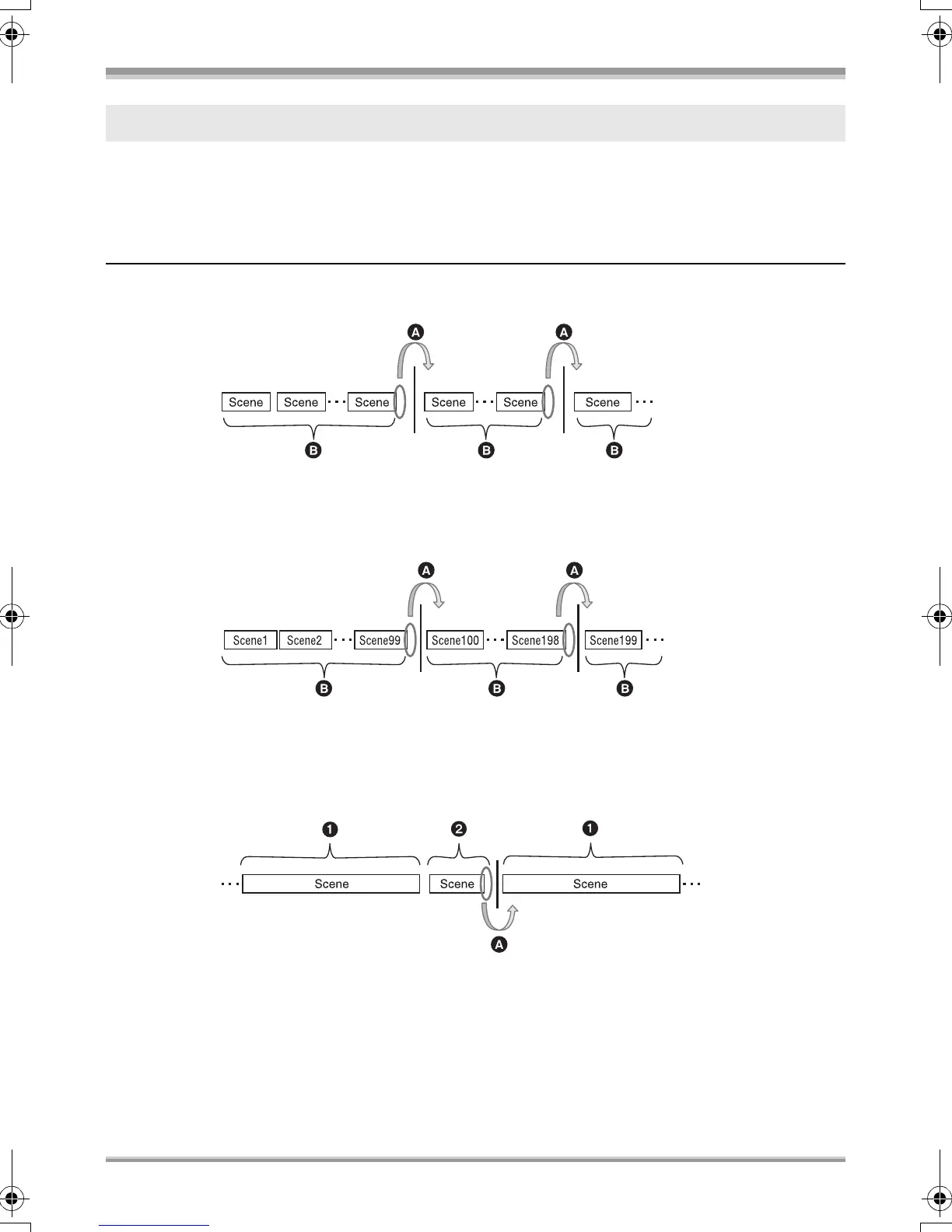
The images may be still for several seconds at the joins between the scenes if the following operations
are performed when multiple scenes have been continuously played back using another unit.
* Just how smoothly the scenes will be played back continuously depends on the playback unit.
Depending on the unit used, the images may stop moving and become still for a moment even when
none of the following conditions are applicable.
ª When the scenes were recorded on different dates
A The image will be still for several seconds wherever the date changes.
B The images are played back smoothly if the scenes were recorded on the same date.
ª When more than 99 scenes were recorded on the same date
A The image will be still for several seconds when the scene changes every time 99 recorded scenes
have been played back.
B The images of 99 consecutive scenes are played back smoothly.
ª When scenes lasting under 3 seconds have been recorded
1 3 or more seconds
2 Under 3 seconds
A The image will be still for several seconds after a scene which lasts under 3 seconds.
If scenes do not change smoothly when played back on another device
  
HDCSD5-VQT1H64_eng.book 122 ージ 007年8月1日 水曜日 午後7時16分

Table of Contents

Other manuals for Panasonic HDC-SD5

Related product manuals