EasyManua.ls Logo

Panasonic HDC-SD5 - Recording Still Pictures (JPEG); Taking Still Pictures with the Camera; Understanding Focus Indication Symbols; Tips for Clearer Still Pictures

Panasonic HDC-SD5
136 pages
Print Icon
To Next Page IconTo Next Page
To Next Page IconTo Next Page
To Previous Page IconTo Previous Page
To Previous Page IconTo Previous Page
Loading...
45
VQT1H64
Recording
Recording still pictures
(JPEG)
Record the still picture on an SD card.
This number of recording pixels for still pictures
is compatible with the 16:9 aspect ratio of a
wide-screen TV. They are recorded at
1920k1080.
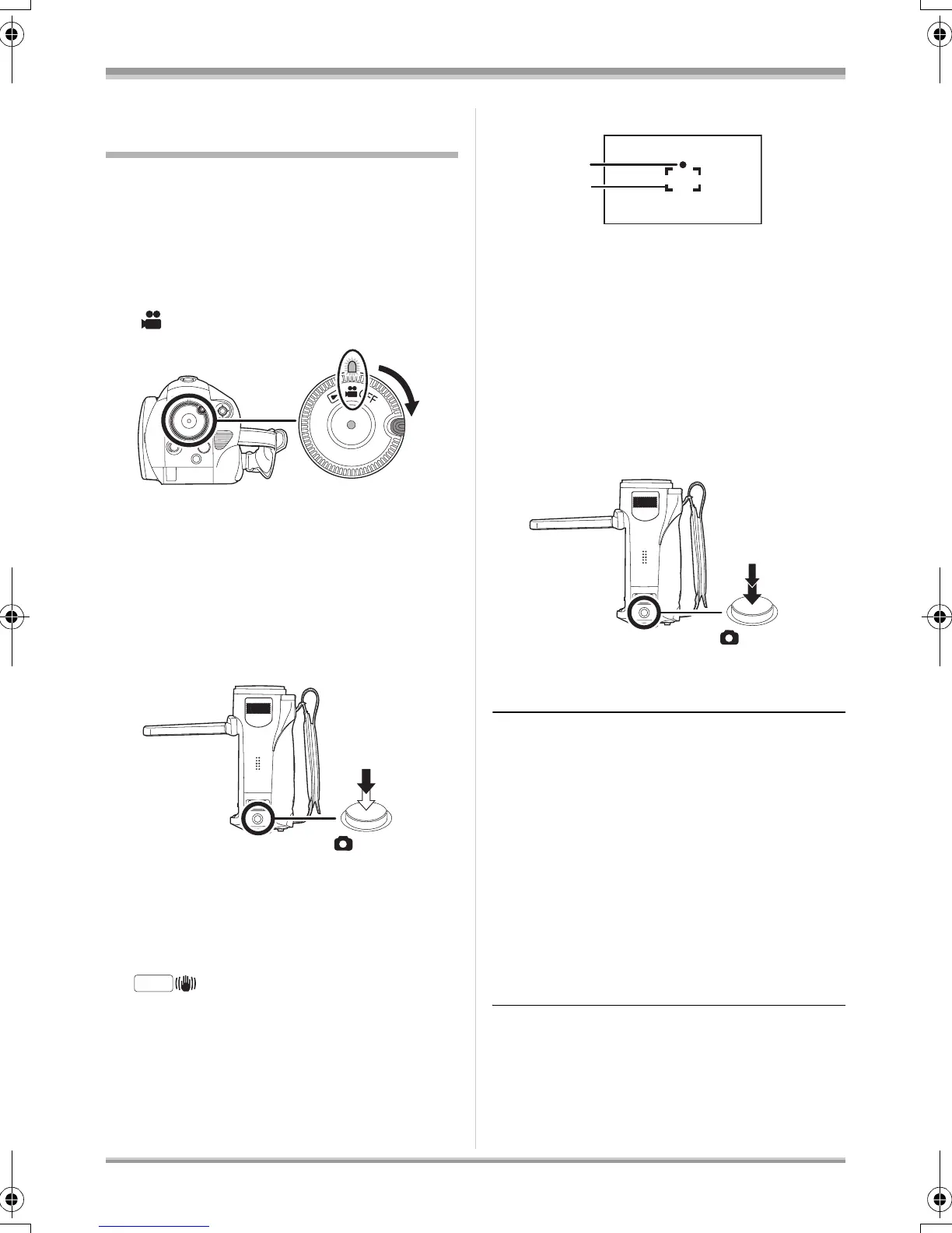
1 Rotate the mode dial to select
.
The lens cover opens automatically.
2 Open the LCD monitor.
3 Press the PHOTO SHOT button
halfway in order to adjust
focusing. (For auto focusing
only)
The shutter speed and the iris/gain value are
fixed and the unit focuses on the subject
automatically.
If you set [O.I.S.] (l 55) to [ON], then the
image stabilizer function will be more effective.
([ ] (MEGA optical image stabilizer)
will be displayed.)
Focus indication:
A Focus indication
± (The white lamp flashes.):
Focusing
¥ (The green lamp lights up.):
When in focus
No mark:
When focusing is unsuccessful.
B Focus area
4 Press the PHOTO SHOT button
fully to take the picture.
In order to take better still pictures, the screen
will brighten when recording.
To record still pictures clearly
When zooming in on the subject with a
magnification of 4k or higher, it is difficult to
reduce the slight shaking from holding this unit
by hand. We recommend decreasing the zoom
magnification and approaching the subject
when recording.
When recording still pictures, hold the unit
firmly with your hands and keep your arms
stationary at your side so as not to shake the
unit.
You can record stable pictures without shaking
by using a tripod and the remote control.
For information about the number of
recordable still pictures on an SD card
(l 48)
The sound cannot be recorded.
If the write protection switch on the SD card is
set to LOCK, it cannot be used for recording.
MEGA
A
B
HDCSD5-VQT1H64_eng.book 45 ペー 007年8月1日 水曜日 午後7時16分

Table of Contents

Other manuals for Panasonic HDC-SD5

Related product manuals