EasyManua.ls Logo

Panasonic TH-37PHD8GK - Page 181

Panasonic TH-37PHD8GK
235 pages
Print Icon
To Next Page IconTo Next Page
To Next Page IconTo Next Page
To Previous Page IconTo Previous Page
To Previous Page IconTo Previous Page
Loading...
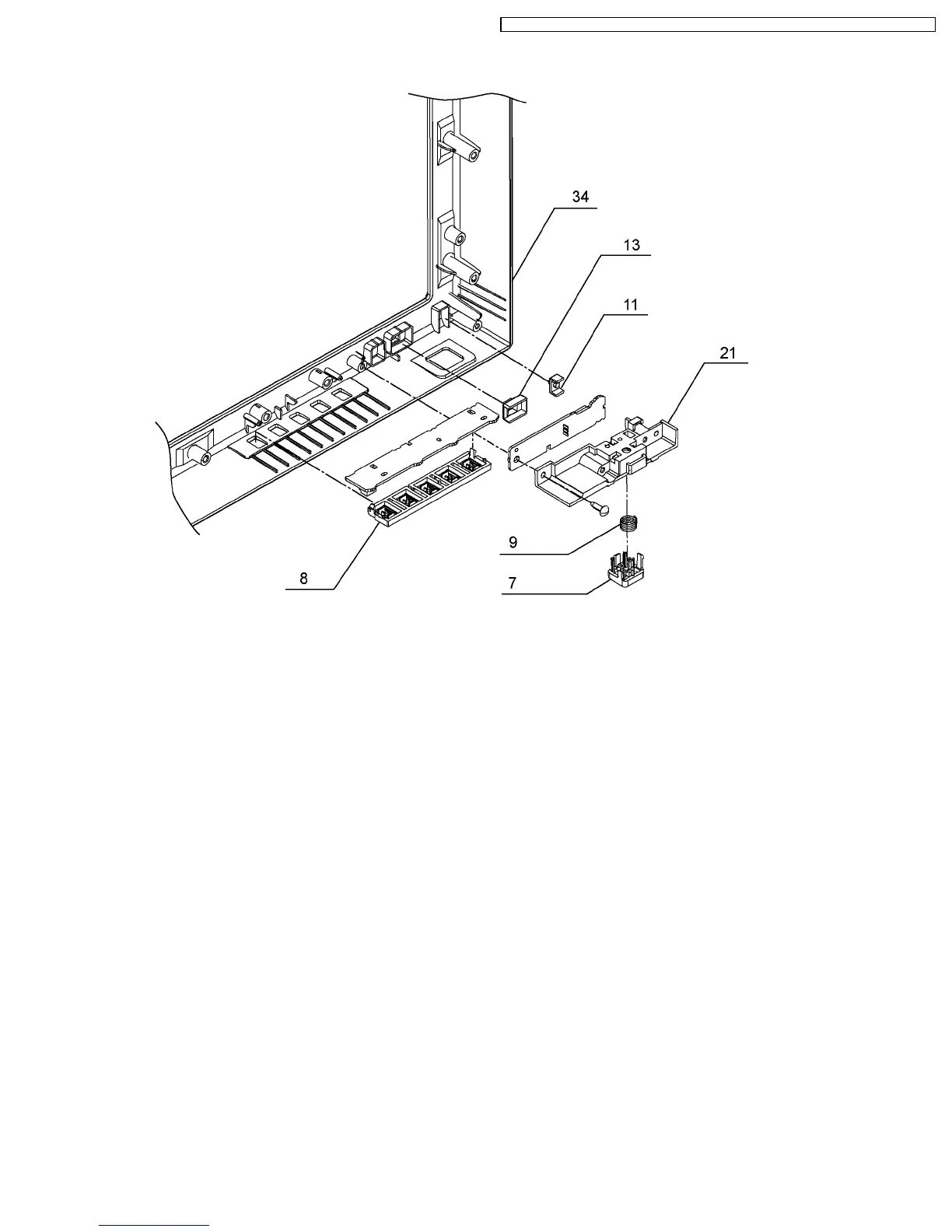
17.1.3. Escutcheon part location enlarged view (for 37/42 inch)
181
TH-37PHD8GK / TH-37PHD8GS / TH-37PHD8UK / TH-42PHD8GK / TH-42PHD8GS / TH-42PHD8UK

Table of Contents

Related product manuals