EasyManua.ls Logo

Panasonic TH-37PHD8GK - 8 Disassembly TH-42 PHD8; Removal of the; Removal of the HA-Board and the HB-Board

Panasonic TH-37PHD8GK
235 pages
Print Icon
To Next Page IconTo Next Page
To Next Page IconTo Next Page
To Previous Page IconTo Previous Page
To Previous Page IconTo Previous Page
Loading...
8 Disassembly TH-42PHD8
·
To disassemble P.C.B. , wait for 1 minute after power was
off for discharge from electrolysis capacitors.
·
and marks indicate screw positions.
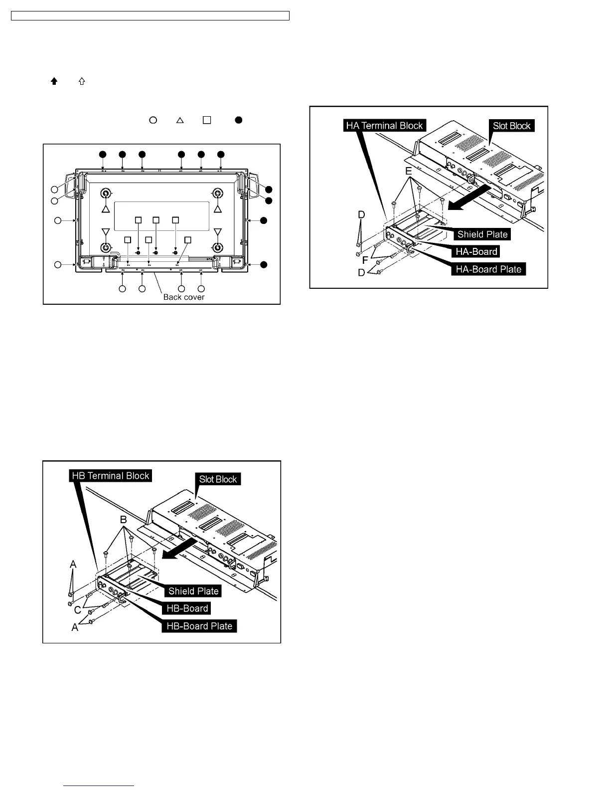
8.1. Removal of the Back Cover
1. Remove the screws (×8 4 ,×6 , ×10 ) and then
remove the Back Cover.
8.2. Removal of the HA-Board and
the HB-Board
8.2.1. TH-42PHD8UK
Removal of the HB-Board.
1. Remove the 4 screws(A) and then remove the HB
Terminal Block.
2. Remove the 4 screws(B).
3. Remove the 2 screws(C) and then remove the HB-
Board.
Removal of the HA-Board
1. Remove the 4 screws(D) and then remove the HA
Terminal Block.
2. Remove the 4 screws(E) .
3. Remove the 2 screws(F) and then remove the HA-
Board.
22
TH-37PHD8GK / TH-37PHD8GS / TH-37PHD8UK / TH-42PHD8GK / TH-42PHD8GS / TH-42PHD8UK

Table of Contents

Related product manuals