EasyManua.ls Logo

PianoDisc 228CFX - Page 35

Default Icon
84 pages
Print Icon
To Next Page IconTo Next Page
To Next Page IconTo Next Page
To Previous Page IconTo Previous Page
To Previous Page IconTo Previous Page
Loading...
PianoDisc Installation Guide 35
. . . . .
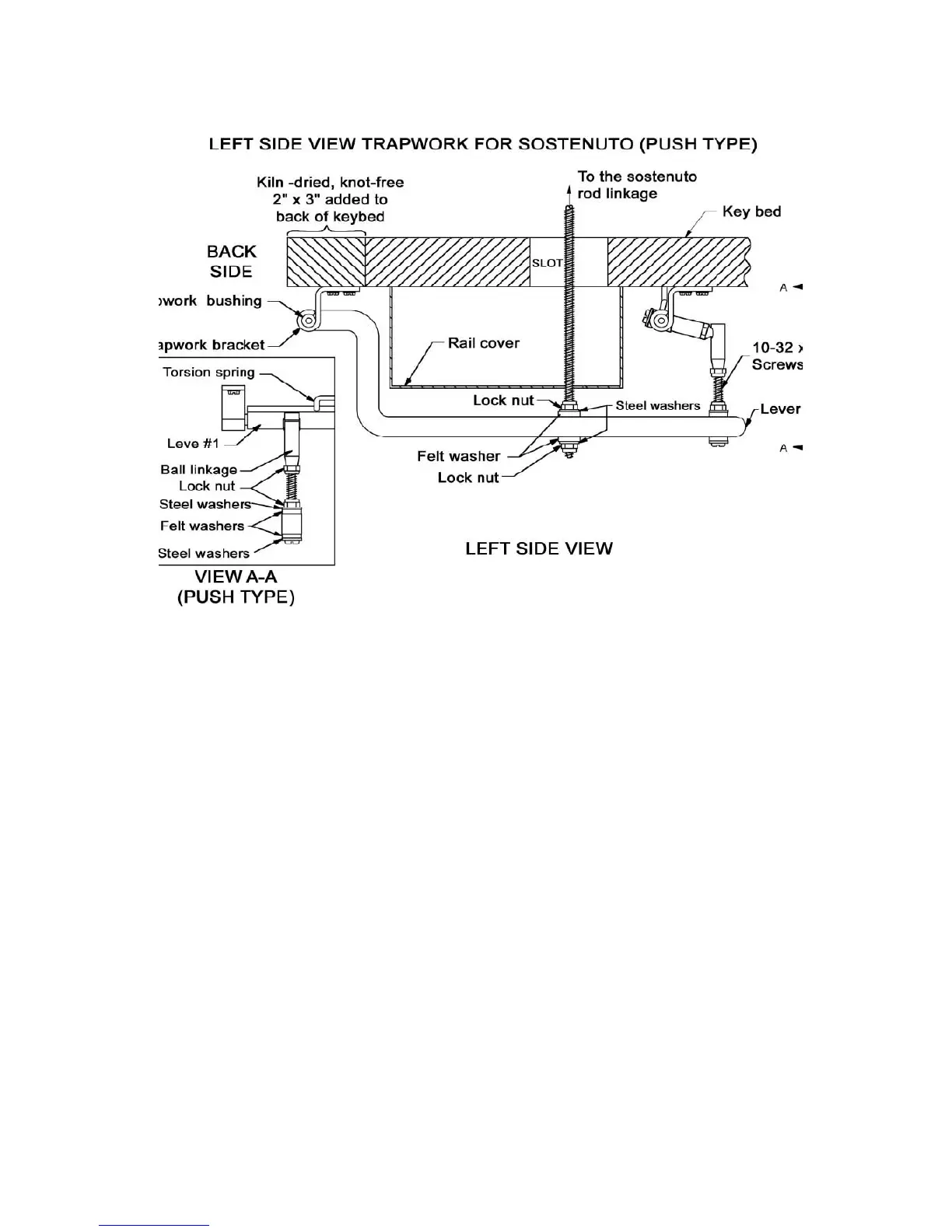
N. Determine the proper length for the threaded rod. The threaded rod
should extend 1/2” (13 mm) past lever #2. Mark the rod to indicate where to
cut off the excess.
O. Remove lever #2 and drill access hole. Now, remove lever #2 and the
threaded rod. Using a 1/4” (6.5 mm) drill bit, drill all the way through lever #2
at the point located in Step N.
P. Trim the threaded rod. At the mark made in step 20-N, trim off the excess
length from the threaded rod. Clean off burr from threaded rod on the belt
sander or with a file.
Q. Glue felts and grommet to trapwork.
R. Paint the trapwork levers. The trapwork levers are powder coated black
from the factory. So it is not necessary to paint the trapwork except for felt
pen on the end cuts. One suggestions, if you install a player system on a
white or ivory piano, it looks nice to paint the trapwork and rail cover to
match the finish. It’s not always easy to find the exact color match from a
spray can, especially ivory.

Table of Contents

Related product manuals