EasyManua.ls Logo

ProMinent delta DLTa optoDrive - Operation modes and controls; Remote operation capabilities

ProMinent delta DLTa optoDrive
128 pages
Print Icon
To Next Page IconTo Next Page
To Next Page IconTo Next Page
To Previous Page IconTo Previous Page
To Previous Page IconTo Previous Page
Loading...
P
P
P
i
STOP
START
2 s
2
2
2
1
1
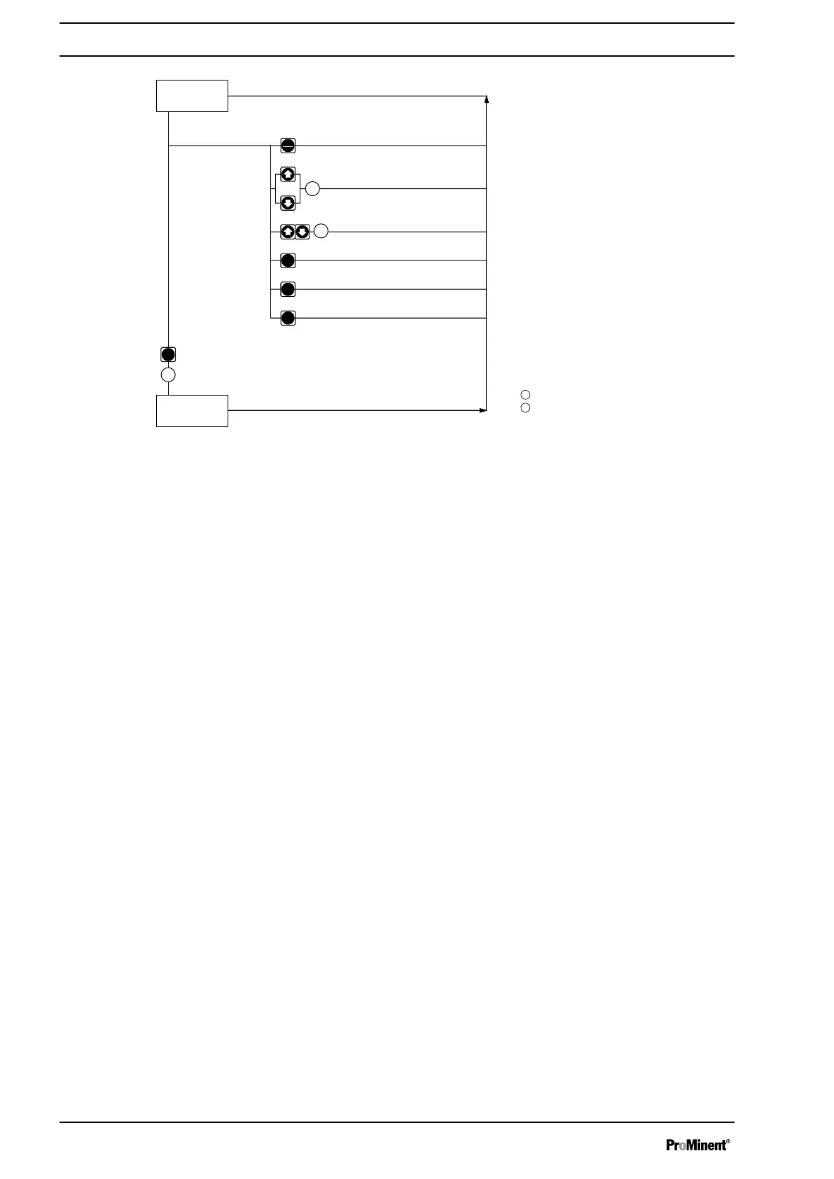
Adjustment
mode
Continuous
display
Pump stop/start
Change directly alterable variables
= Security lock ("Lock Menu")
= Security lock ("Lock all")
Priming
Start batch (only in "Batch" operating mode)
Acknowledge error
Check adjustable variables
Fig. 30: Operating options with a locked operating menu
11.2 Remote operation
There is an option to control the pump remotely via a signal cable - refer to
your system documentation and to the "Electrical Installation" chapter.
Operation
72

Table of Contents

Related product manuals