EasyManua.ls Logo

Sega VIRTUA COP - Replacing the Main Board Battery

Sega VIRTUA COP
160 pages
Print Icon
To Next Page IconTo Next Page
To Next Page IconTo Next Page
To Previous Page IconTo Previous Page
To Previous Page IconTo Previous Page
Loading...
106
www.seuservice.com
107
www.seuservice.com
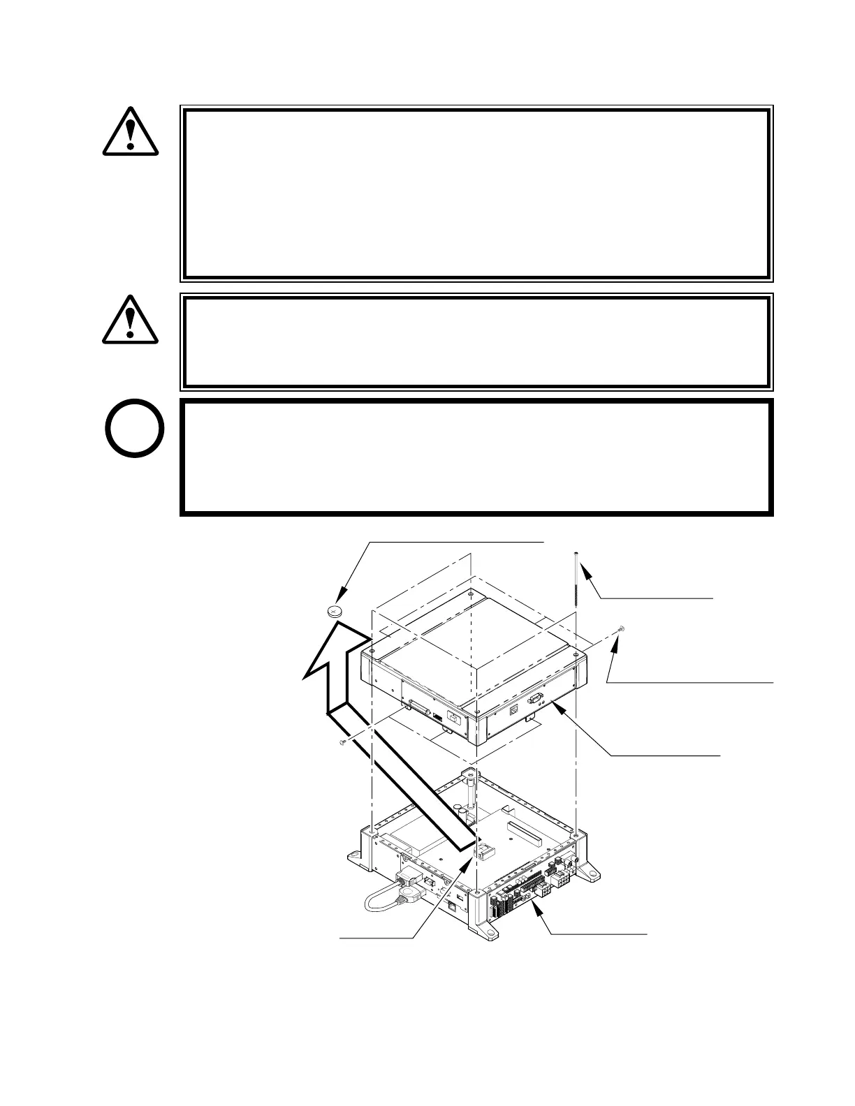
MEDIA BOARD
MAIN BOARD
HOLDER
SCREW (4), black
M3×65
S TIGHT SCREW (6), black
M3×6
BUTTON BATTERY CR2032
401-0054
16-3 REPLACING THE MAIN BOARD BATTERY
To prevent overheating, explosion, or re:
Do not recharge, disassemble, heat, incinerate, or short the battery.
Do not allow the battery to come into direct contact with metallic objects
or other batteries.
To preserve the battery, wrap it in tape or other insulating material.
Follow local regulations when disposing of the battery.
Improper disposal can damage the environment.
To avoid risk of malfunction and damage:
Make sure the positive and negative ends are aligned correctly.
Use only batteries approved for use with this unit.
If an error appears indicating that the battery power is very low within the rst
year of use, it is usually an indication of a problem or abnormality with something
other than the battery. Be sure to inspect the board that the battery is connected to.
There is a Media Board But-
ton Battery underneath the
Media Board.
FIG. 16. 3
Carefully remove the battery from its holder.
Insert a new battery into the holder with the "+" terminal facing up.
CAUTION!
STOP
IMPORTANT!
WARNING!

Table of Contents

Related product manuals