EasyManua.ls Logo

Sequential Prophet VS - Amplifier

Sequential Prophet VS
152 pages
Print Icon
To Next Page IconTo Next Page
To Next Page IconTo Next Page
To Previous Page IconTo Previous Page
To Previous Page IconTo Previous Page
Loading...
64
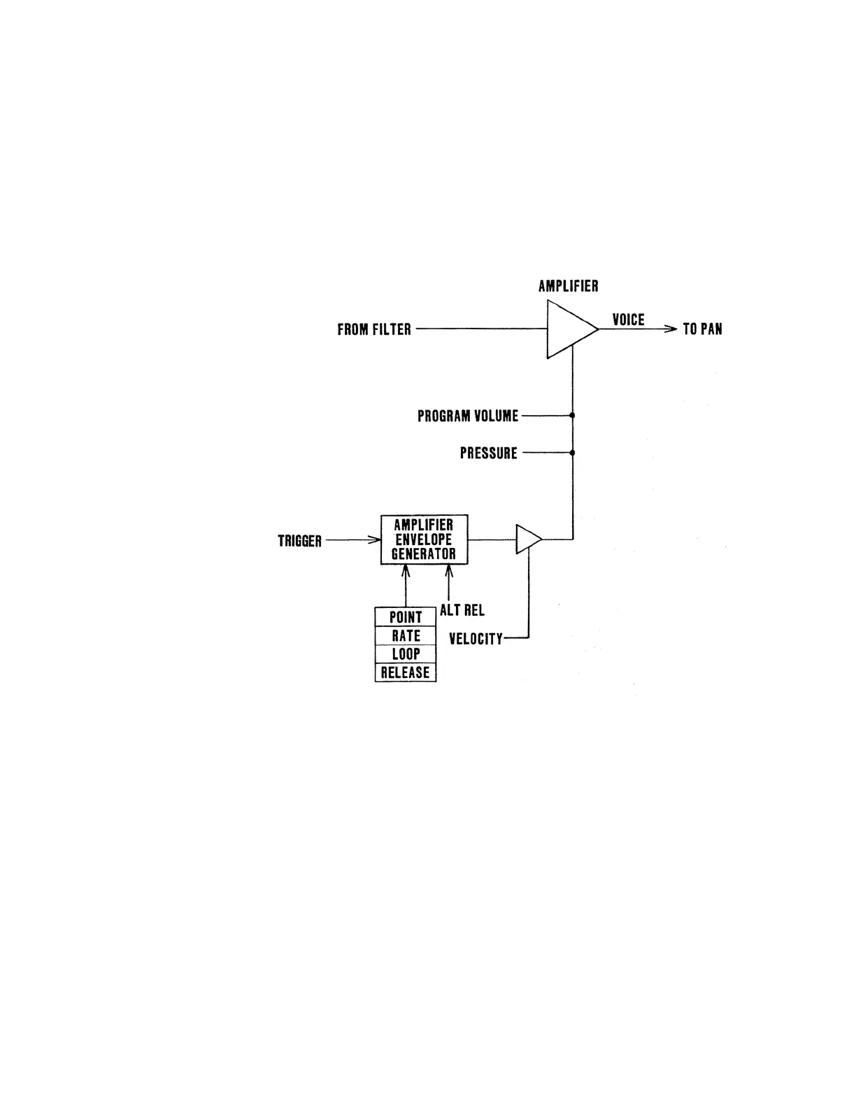
AMPLIFIER
The lter audio output goes to the voice amplier. The amplier determines
the loudness of the voice over the note duration. Its output goes to the pan
module.
Each program has a programmed volume which is aected by other
parameters: principally, the amplier envelope generator, which articulates the
desired loudness shape, and the modulation sources. Through the modulation
system, the volume can be raised or lowered by key velocity or pressure.
These sources are added to the program volume. That is, positive modulation
amounts drive the volume higher, and negative amounts drive it lower.
Note that there is a maximum program volume of 99, and modulation can drive
the volume no higher. To hear the eects of the amplier envelope generator,
velocity, or pressure on program volume, lower Program Volume, and raise
the modulation source amount.
If two programs are mixed in Double keyboard mode, all of these volume
control sources will aect the balance between the two sounds.
Figure 8-6
AMPLIFIER MODULE
HOME
BACK

Table of Contents

Other manuals for Sequential Prophet VS

Related product manuals