EasyManua.ls Logo

Sequential Prophet VS - Multiple Keyboard Operation

Sequential Prophet VS
152 pages
Print Icon
To Next Page IconTo Next Page
To Next Page IconTo Next Page
To Previous Page IconTo Previous Page
To Previous Page IconTo Previous Page
Loading...
87
MULTIPLE-KEYBOARD OPERATION
To send notes to a specic instrument in a MIDI chain, make sure that the
slave synths are set to dierent MIDI channels and mode 3, and that the VS’s
channels match.
The ARP. CHANNEL is adjusted with the MIDI Options Select control (see
below).
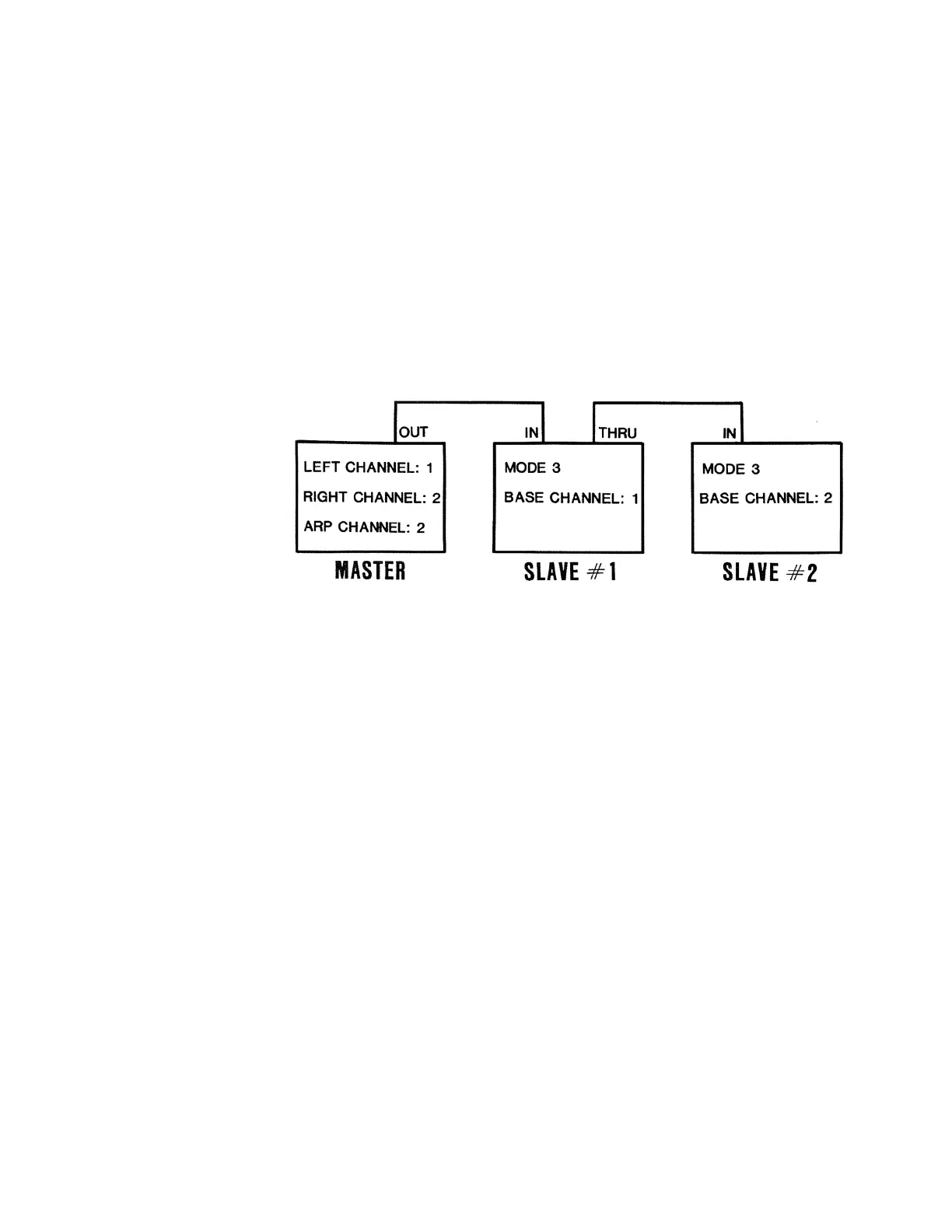
Figure 14-3 shows typical connection for driving two slaves with a VS. Since
both slaves are in Mode 3, and on channels matching the VS’s left and right
channels, slave #1 always mimics the master, but slave #2 does so only if the
VS is in split or double keyboard mode, or if the arpeggiator runs.
Figure 14-3
MULTI-CHANNEL OPERATION
HOME
BACK

Table of Contents

Other manuals for Sequential Prophet VS

Related product manuals