EasyManua.ls Logo

Sony a9 - Page 129

Sony a9
259 pages
Print Icon
To Next Page IconTo Next Page
To Next Page IconTo Next Page
To Previous Page IconTo Previous Page
To Previous Page IconTo Previous Page
Loading...
C:\d830100111\d830100111ILCE9UC2\01GB-ILCE9UC2\030BAS.indd
2019/02/19 10:01
ILCE-9
d-830-100-11 (1)
GB
129
Shooting
Autumn leaves: For shooting autumn scenes, vividly highlighting
the reds and yellows of changing leaves.
Black & White: For shooting images in black and white monotone.
Sepia: For shooting images in sepia monotone.
Registering preferred settings (Style Box): Select the six style
box (the boxes with numbers on the left side (
)) to register
preferred settings. Then select the desired settings using the right
button.
You can call up the same style with slightly different settings.
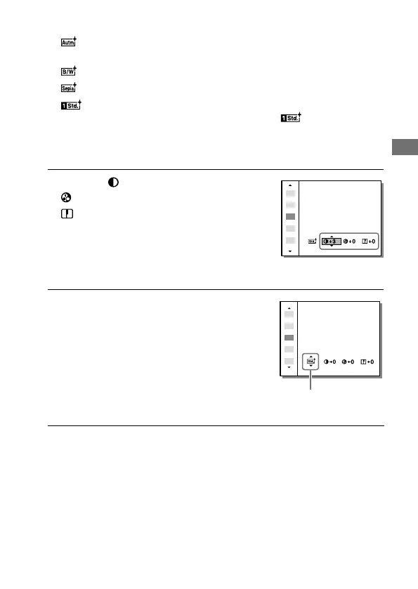
3
To adjust (Contrast),
(Saturation) and
(Sharpness), select the
desired item using the right/
left sides, and then select the
value using the top/bottom
sides.
4
When selecting [Style Box],
move to the right side using
the right side of the control
wheel, and then select the
desired style.
You can call up the same style
with slightly different settings.
Displayed only when
Style Box is selected

Table of Contents

Related product manuals