EasyManua.ls Logo

Taylor-Dunn MX-026-00 - Page 182

Taylor-Dunn MX-026-00
192 pages
Print Icon
To Next Page IconTo Next Page
To Next Page IconTo Next Page
To Previous Page IconTo Previous Page
To Previous Page IconTo Previous Page
Loading...
Illustrated Parts
Parts
Page 34
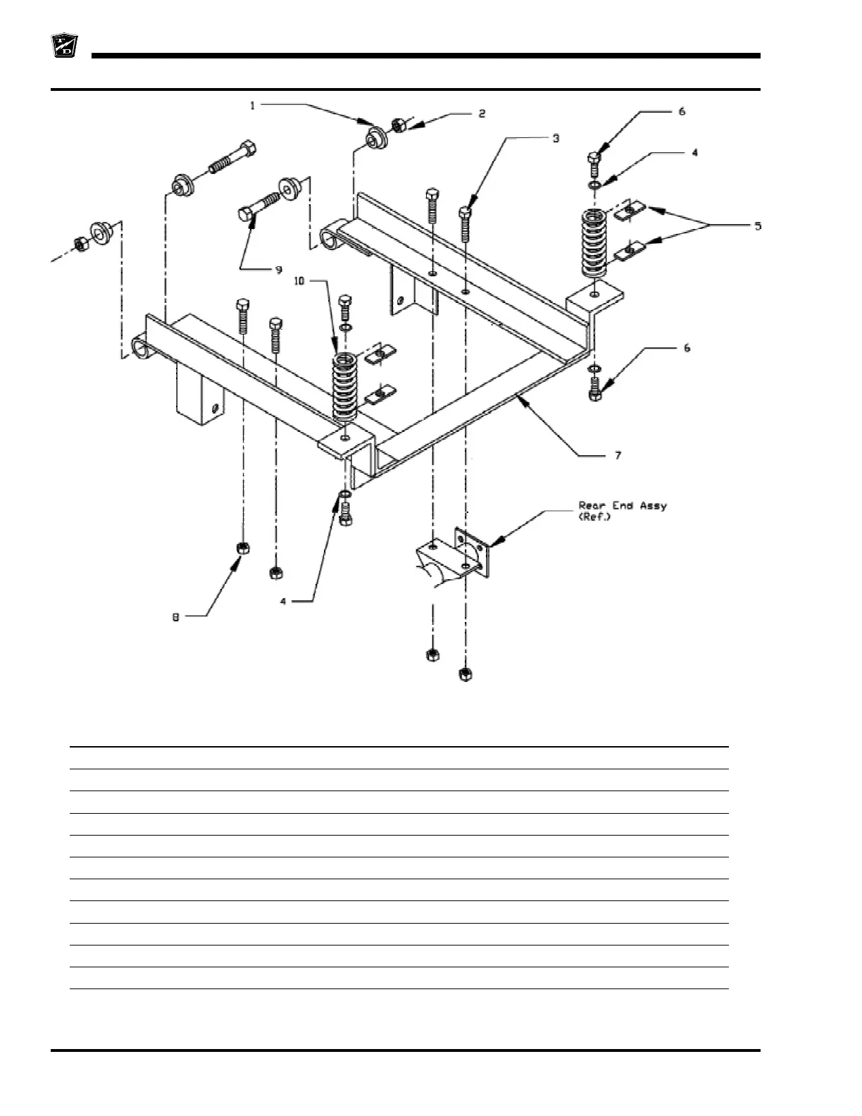
Suspension, Rear, SS-536, SS-546
Item No. Part No. Description Qty
1 98-601-00 Rubber Grommet, 1/2" ID 4
2 88-149-81 1/2" Locknut 2
3 88-100-15 1/2" X 1-3/4" Bolt 4
4 88-108-62 3/8"" Lockwasher 4
5 85-141-00 Spring Clip 4
6 88-100-11 3/8" NC X 1" Bolt 4
7 00-536-01 Drive Frame 1
8 88-149-81 1/2" Locknut 4
9 96-240-00 1/2" X 4" Bolt 2
10 85-140-00 Spring 2
- 17-106-02 Spacer (under #8) 4

Table of Contents

Other manuals for Taylor-Dunn MX-026-00

Related product manuals