EasyManua.ls Logo

TDK-Lambda GENESYS 10KW - Daisy-Chain Connection; Advanced Parallel Operation Setup

TDK-Lambda GENESYS 10KW
74 pages
Print Icon
To Next Page IconTo Next Page
To Next Page IconTo Next Page
To Previous Page IconTo Previous Page
To Previous Page IconTo Previous Page
Loading...
83
-
530
-
000 Rev.
G
41
With local sensing
it is important to minimize the wire length and resistance. Also the positive and negative
wire resistance should be as close as possible to each other to achieve current balance between power
supplies.
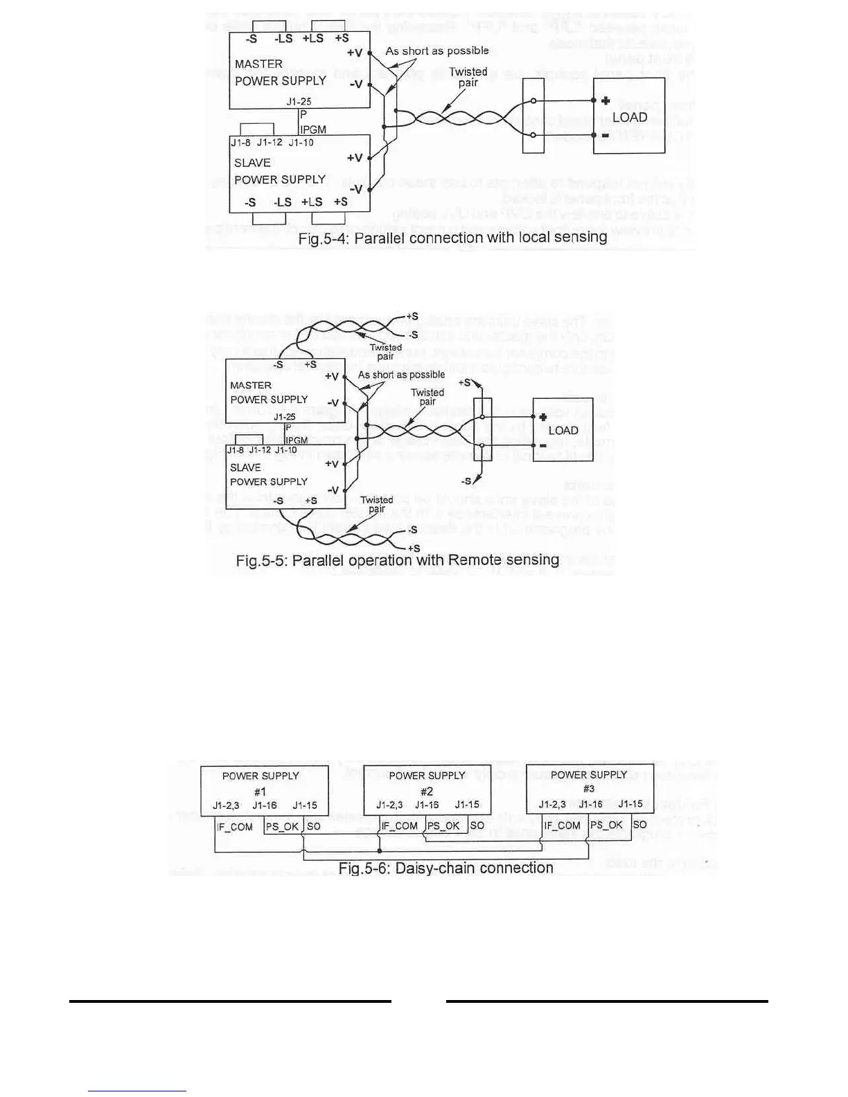
5.16 DAISY
-
CHAIN CONNECTION
It is
possible to configure a multiple power supply system to shut down all the units when a fault cond
i
tion occurs in
one of the units. When the fault is removed, the system recovers according to its setting to Safe start mode or
Automatic r
e
start.
Setup switc
h SW1 position 5 should be set to its Down position to enable the Daisy
-
chain operation. Other SW1
positions can be set according to the application requir
e
ments.
If a fault occurs in one of the units its PS_OK signal will be set to low level and the displ
ay will indicate the fault.
The other units will shut off and their display will indicate “SO”. When the fault condition is removed, the units will
recover to their last setting according to their Safe start or Auto
-
restart se
t
ting.
Fig.5
-
6 shows connectio
n of three units, however the same connection method a
p
plies to systems.
5.17 ADVANCED PARALLEL OPERATION
In this method, multiple supplies can be configured to parallel operation as a single power supply. The
total load current and output voltage
are displayed by the Master unit and can be readback from the
Master unit. The Slave units display only their operating status (On, Off or Fault condition).
Refer to the following procedure to configure multiple supplies for Advanced parallel operation.

Table of Contents

Related product manuals