EasyManua.ls Logo

Toa EV-700 - Page 35

Toa EV-700
106 pages
Print Icon
To Next Page IconTo Next Page
To Next Page IconTo Next Page
To Previous Page IconTo Previous Page
To Previous Page IconTo Previous Page
Loading...
35
12.3.3. Operation setting for playback start
Three methods are available for the operation settings: Priority setting (FIFO), Priority setting (LIFO), and
Sequential storage playback.
[Playback depending on Priority setting (FIFO) and Priority setting (LIFO)]
The unit operates as shown below depending on the program priority levels when playback is performed by
these two settings.
When the set priority levels are different: A higher-priority program's playback takes precedence
When the set priority levels are the same: The unit performs different operations as shown in the table below
depending on which the priority is set to FIFO or LIFO.
When playback of other program
with the same priority level is
started during program playback
FIFO Cannot accept the playback start of the last-in program.
LIFO Plays the last-in program.
When playbacks of 2 programs
with the same priority level are
simultaneously started
FIFO Plays the lower-numbered program.
LIFO Plays the higher-numbered program.
As for the program priority levels, see p. 81.
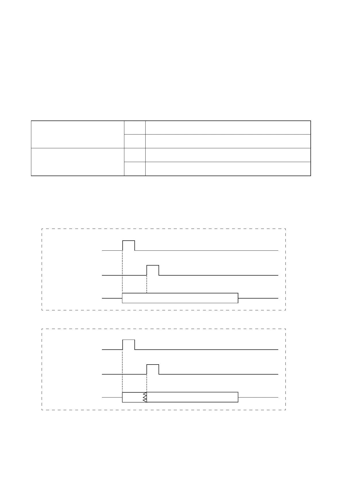
The gure below shows operations of the FIFO and LIFO playbacks.
When playback of Program (P002) with the same priority is started during Program (P001) playback:
Program playback
Contact-activated input
P001 playback
P001 start
Contact-activated input
P002 start
(The first activated program playback takes precedence.)
FIFO playback
P001
Program playback
Contact-activated input
P002 playback
P001 start
Contact-activated input
P002 start
(The last activated program playback takes precedence.)
LIFO playback
Note
When playback of 2 programs with the same priority level is simultaneously started, playback operation is as
follows.
· FIFO playback: Plays the lower-numbered program.
· LIFO playback: Plays the higher-numbered program.

Table of Contents

Related product manuals