EasyManua.ls Logo

Toa EV-700 - 15 Emergency Playback (Using the Control Input Terminals); Making Emergency Playback

Toa EV-700
106 pages
Print Icon
To Next Page IconTo Next Page
To Next Page IconTo Next Page
To Previous Page IconTo Previous Page
To Previous Page IconTo Previous Page
Loading...
61
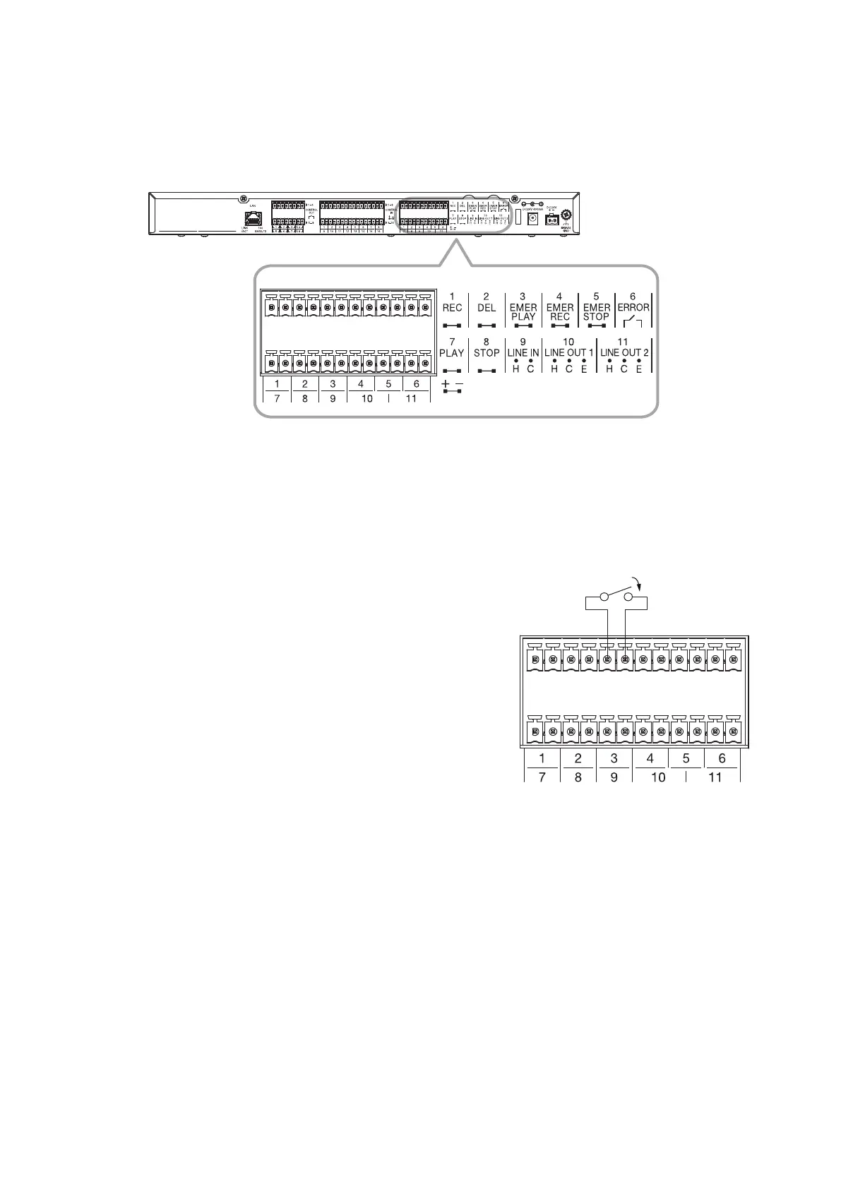
15. EMERGENCY PLAYBACK (USING THE CONTROL INPUT TERMINALS)
You can start or stop Emergency playback using each control input terminal in the rear-mounted Input/Output
terminal block.
(Rear)
Input/Output terminals
15.1. Making Emergency Playback
15.1.1. When Pulse signal input activation is selected for the Emergency playback start setting
Step: Close the Emergency playback control input terminals (Terminal No. 3).
Emergency playback will start.
Emergency playback will stop automatically after it is
repeated by the number of times or for the period of time,
both preset using the EV-700 Setting software.
Tips
Emergency playback will automatically stop after
it is repeated by the set number of times even if you
continue to close the Emergency playback control input
terminals after Emergency playback has started. (See
p. 33, "Pulse signal input activation and Level signal
input activation.")
For the method to stop Emergency playback in such cases
that the repeat count is set to "Innite" (continuance), see
p. 57, "Stopping Emergency Playback."

Table of Contents

Related product manuals