EasyManua.ls Logo

Toa EV-700 - Page 37

Toa EV-700
106 pages
Print Icon
To Next Page IconTo Next Page
To Next Page IconTo Next Page
To Previous Page IconTo Previous Page
To Previous Page IconTo Previous Page
Loading...
37
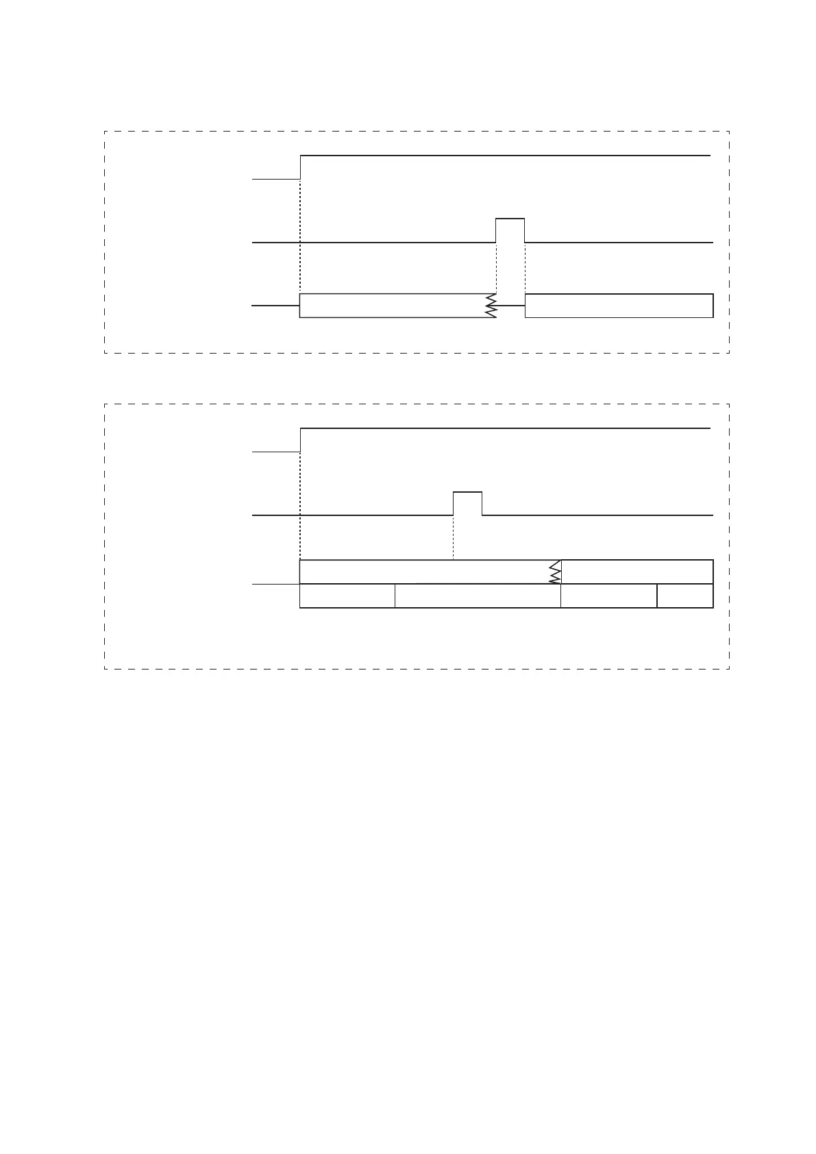
Phrase 00002Phrase 00001 Phrase 00001
Program playback
P001
Stop control input
Contact-activated input
Stop activation
Level signal input activation, Forced stop
Program playback
P001
Stop control input
Stop activation
Level signal input activation, Spontaneous stop of phrase playback
Contact-activated input
P001 (Playback from the beginning)
P001
P001 playback stops once after the phrase playback in progress has ended,
but restarts immediately as the contact-activated input is kept applied.
[Operation of the Forced stop and Spontaneous stop of phrase playback during Level signal input activation]

Table of Contents

Related product manuals