EasyManua.ls Logo

UD Trucks UD2000 - Page 336

Default Icon
385 pages
Print Icon
To Next Page IconTo Next Page
To Next Page IconTo Next Page
To Previous Page IconTo Previous Page
To Previous Page IconTo Previous Page
Loading...
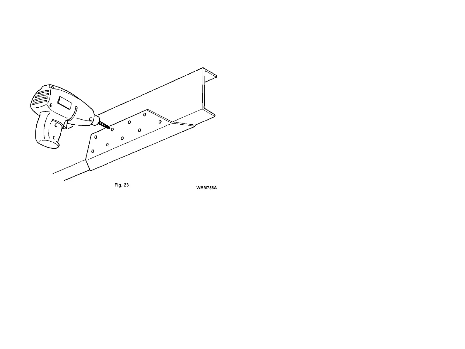
2. RIVETING
Cold hydraulic riveting, rather than hot riveting, is strongly recom-
mended (Scale produced during hot riveting remains on the surface or a
gap is made in the rivet hole, which may cause loosening.). When hot or
manual riveting is necessary, carefully inspect the finish after tightening
the rivet.
Always use rivets on areas of the chassis-frame subject to shearing
force. Protect rivets from direct tension. When rivets are used extensively
on the vehicle frame, jointly bore the frame and parts to be installed. Rivet
holes should be staggered, and not in a vertical line (Fig. 23).
C18

Table of Contents

Related product manuals