EasyManua.ls Logo

Upright TL33 - Page 89

Upright TL33
97 pages
Print Icon
To Next Page IconTo Next Page
To Next Page IconTo Next Page
To Previous Page IconTo Previous Page
To Previous Page IconTo Previous Page
Loading...
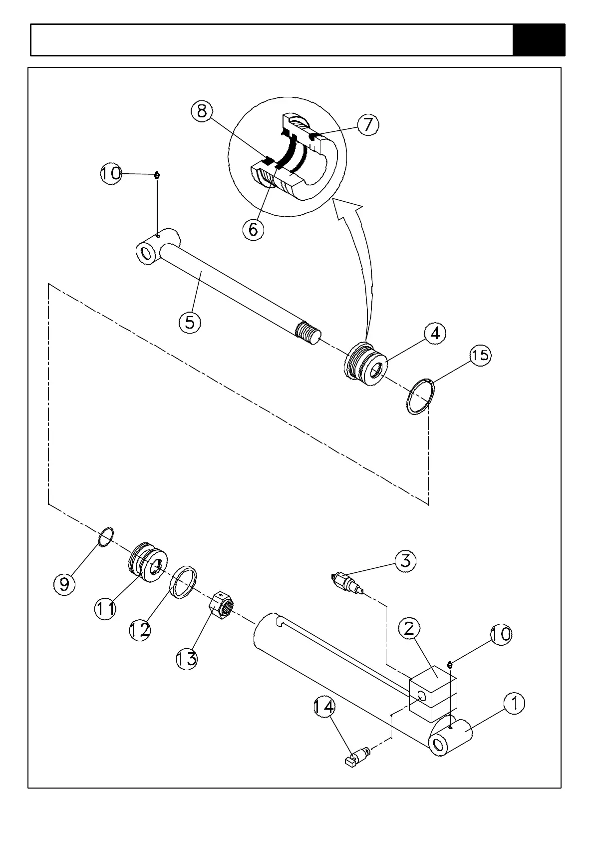
TL33 Work Platform 7-27
Illustrated Parts Breakdown
Section
7.2

Table of Contents

Related product manuals