EasyManua.ls Logo

Westerbeke Universal M-50 - Wiring Diagram

Westerbeke Universal M-50
162 pages
Print Icon
To Next Page IconTo Next Page
To Next Page IconTo Next Page
To Previous Page IconTo Previous Page
To Previous Page IconTo Previous Page
Loading...
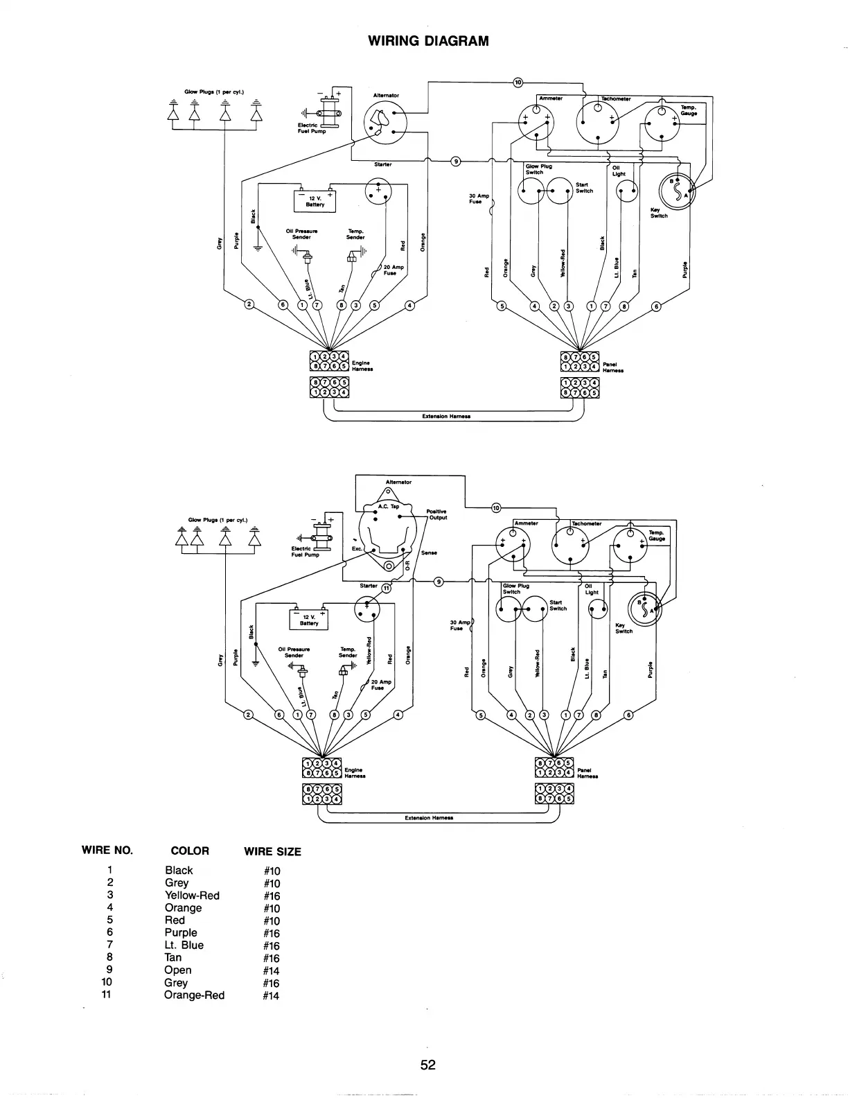
WIRE
NO.
1
2
3
4
5
6
7
8
9
10
11
Glow
Pktp
(1
per cyl.,
COLOR
Black
Grey
Yellow-Red
Orange
Red
Purple
Lt.
Blue
Tan
Open
Grey
Orange-Red
WIRE
SIZE
#10
#10
#16
#10
#10
#16
#16
#16
#14
#16
#14
WIRING DIAGRAM
r--------------{10'r---------~
~
~'23.
~
~1.5
l~l----~_~_~~~~-------
~
1H
, 2
3~
'-
__
-_-_-_-_-_-_-_-_-_-_-...:-=-~~-~~I~~
......
~~~~~~~~~~~~~~~~
__
~
52

Table of Contents

Related product manuals