EasyManua.ls Logo

Westerbeke Universal M-50 - Page 64

Westerbeke Universal M-50
162 pages
Print Icon
To Next Page IconTo Next Page
To Next Page IconTo Next Page
To Previous Page IconTo Previous Page
To Previous Page IconTo Previous Page
Loading...
PROBLEM AREA DETERMINATION
SECTION
CONDITIONS: Engine Idling
For
All
Tests
(Unless otherwise specified)
A.
BATTERY
UNDERCHARGED
1.
Remove Battery sense
only.
a.
Perform Harness Voltage
Test
(Test
No.3)
2.
Indicator Lamp
On
a.
Perform Open Diode-Trio
Test
(Test
NO.1)
3.
Indicator Lamp Off (Ignition
on
and engine stopped)
a.
Perform Regulator
Test.
(Test
NO.2)
b.
If Regulator
is
O.K.,
the cause
is
probably
an
open field circuit and Alternator must
be
removed for
repair.
4.
Further Investigation Requires Alternator Removal and Repair
(diodes).
B.
BATTERY
OVERCHARGED
1.
Regulator Shorted, Replace Regulator.
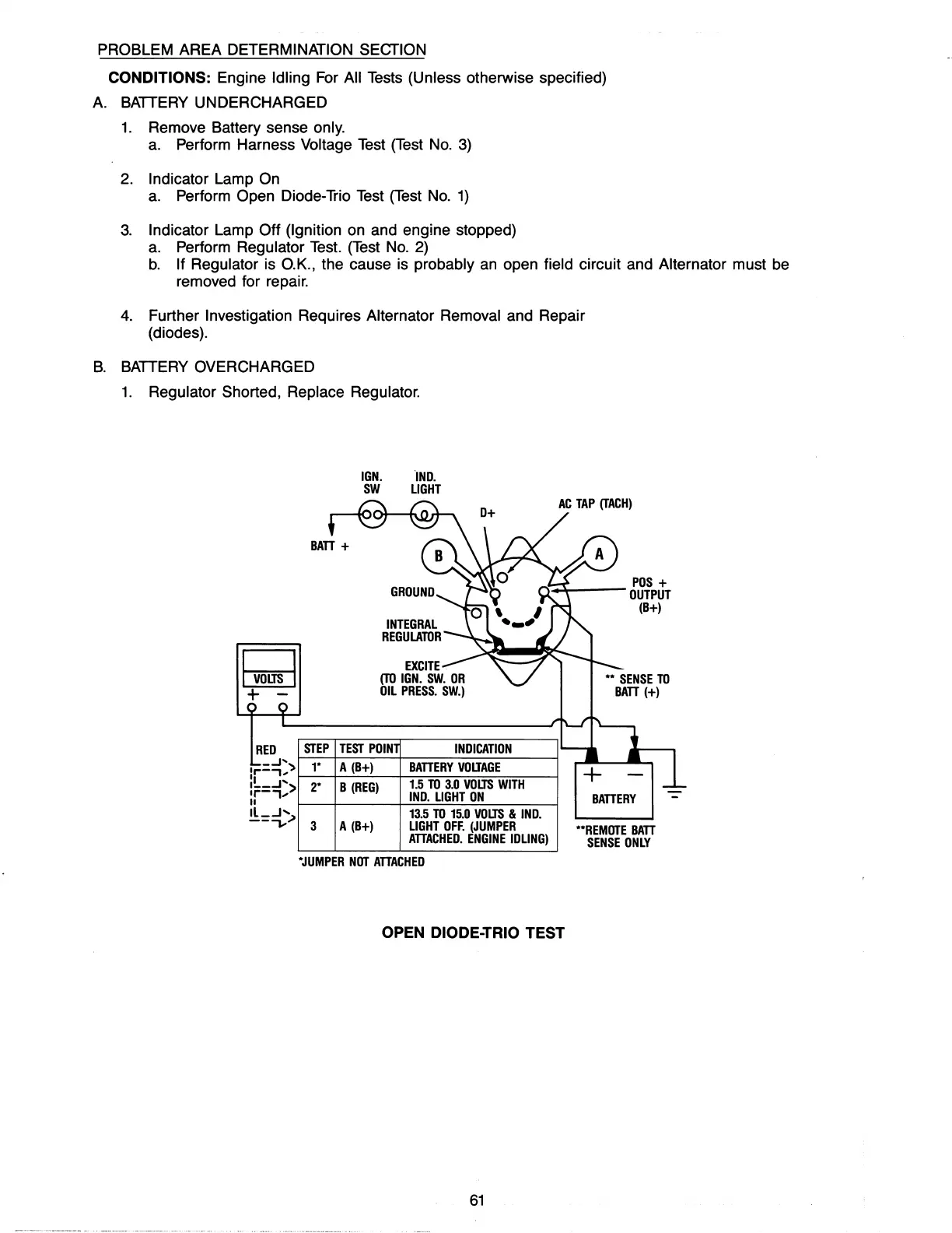
IGN.
'IND.
SW
LIGHT
POS
+
0
...
>+----
OUTPUT
I vocrs I
+ -
RED
STEP
TEST
POIN
INDICATION
1~=~:~~1*~_A~(B_+~)
__
~M~rr~ER7Y~W~~~A=G~E==~~
~?:==t>
2*
B
(REG)
1.5
TO
3.0
wcrs
WITH
II
~~
______
+-"IN=D:.:..
=LI=GH:.:.:T'-'O:.:.;N'--
____
~
IL...I'.>
13.5
TO
15.0
wcrs
&
IND.
---,..
3 A
(B+)
LIGHT
OFF.
(JUMPER
ATTACHED.
ENGINE
IDLING)
·JUMPER
NOT
ATTACHED
OPEN
DIODE-TRIO TEST
61
(B+)
BATTERY
*·REMOTE
BATT
SENSE
ONLY

Table of Contents

Related product manuals