EasyManua.ls Logo

Yamaha FT50C - Checking the Piston Diameter; Checking the Cylinder Bore

Yamaha FT50C
267 pages
Print Icon
To Next Page IconTo Next Page
To Next Page IconTo Next Page
To Previous Page IconTo Previous Page
To Previous Page IconTo Previous Page
Loading...
62Y5A11
5-38
1
2
3
4
5
6
7
8
9
CAUTION:
Do not scratch or damage the mating sur-
faces of the cylinder head and cylinder
body.
3. Remove the connecting rod bolts and the
piston assemblies.
4. Remove the crankshaft, oil seals, and
dowel pins.
5. Remove the piston pin clip
1
with pliers,
and then remove the piston.
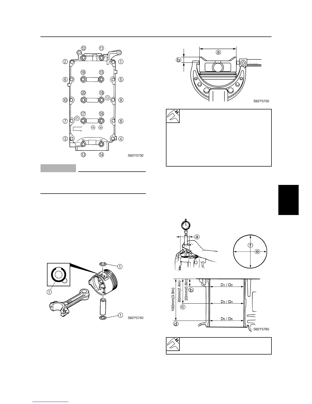
Checking the piston diameter
1. Measure the piston outside diameter at
the specified measuring point. Replace if
out of specification.
Checking the cylinder bore
1. Measure the cylinder bore (D
1
D
6
)
a
at
measuring points
b
,
c
and
d
, and in
direction
e
, which is parallel to the
crankshaft, and direction
f
, which is at a
right angle to the crankshaft.
Piston diameter
a
:
62.9562.96 mm (2.4782.479 in)
Measuring point
b
:
5 mm (0.2 in) up from the bottom of
the piston skirt
Oversize piston diameter:
Oversize 1: +0.25 mm (0.01 in)
Oversize 2: +0.50 mm (0.02 in)
Cylinder bore
a
:
63.0063.01 mm (2.4802.481 in)
Cylinder body

Table of Contents

Related product manuals