EasyManua.ls Logo

Yamaha FT50C - Wiring Harness and Ignition System

Yamaha FT50C
267 pages
Print Icon
To Next Page IconTo Next Page
To Next Page IconTo Next Page
To Previous Page IconTo Previous Page
To Previous Page IconTo Previous Page
Loading...
ELEC
Electrical systems
+
8-7
62Y5A11
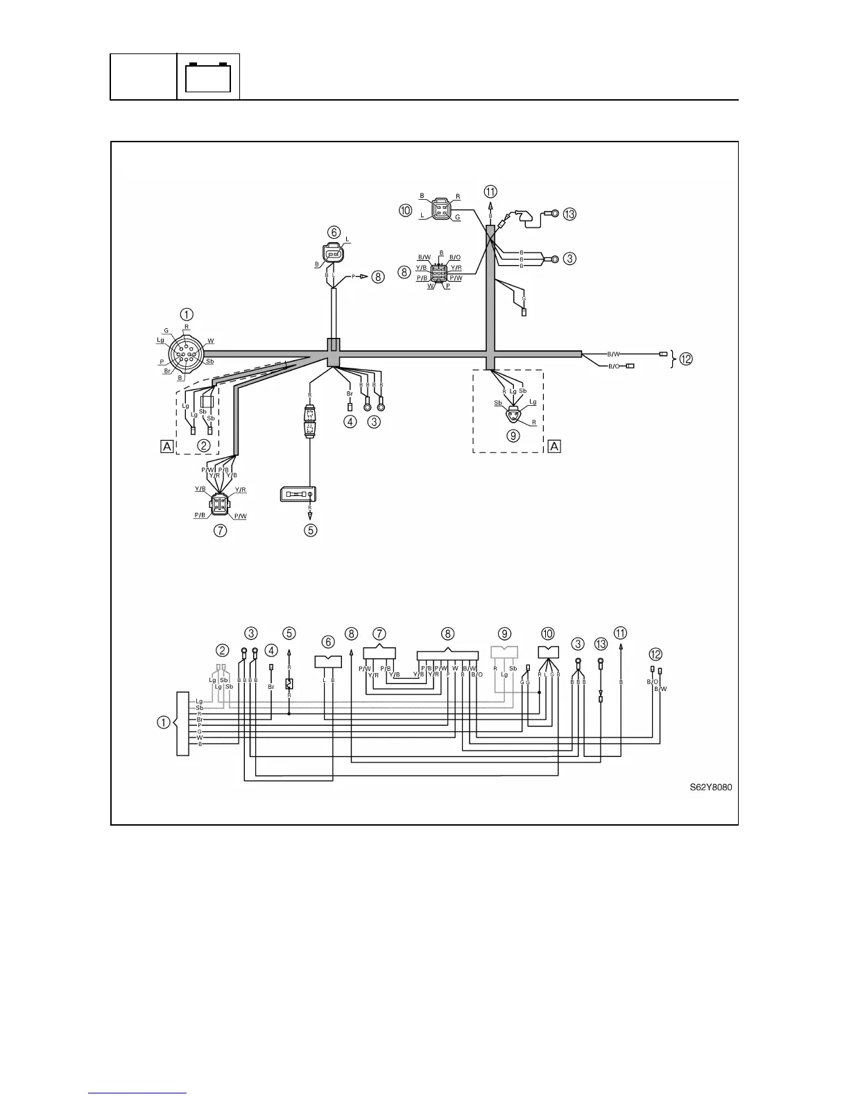
Wiring harness
8
Connect to:
1
Tiller handle main
switch or remote
control box or wiring
harness extension
2
Power trim and tilt
relay
3
Ground
4
Starter relay
5
Positive battery lead
6
Prime Start
7
Warning indicator or
digital tachometer
8
CDI unit
9
Trailer switch
0
Rectifier Regulator
A
Thermoswitch
B
Ignition coil
C
Oil pressure switch
È
Power trim and tilt
model
B: Black
Br : Brown
G: Green
L: Blue
Lg : Light green
P: Pink
R: Red
Sb : Sky blue
W: White
B/O : Black/orange
B/W : Black/white
P/B : Pink/black
P/W : Pink/white
Y/B : Yellow/black
Y/R : Yellow/red

Table of Contents

Related product manuals