EasyManua.ls Logo

Yamaha FT50C - Page 215

Yamaha FT50C
267 pages
Print Icon
To Next Page IconTo Next Page
To Next Page IconTo Next Page
To Previous Page IconTo Previous Page
To Previous Page IconTo Previous Page
Loading...
62Y5A11
7-46
1
2
3
4
5
6
7
8
9
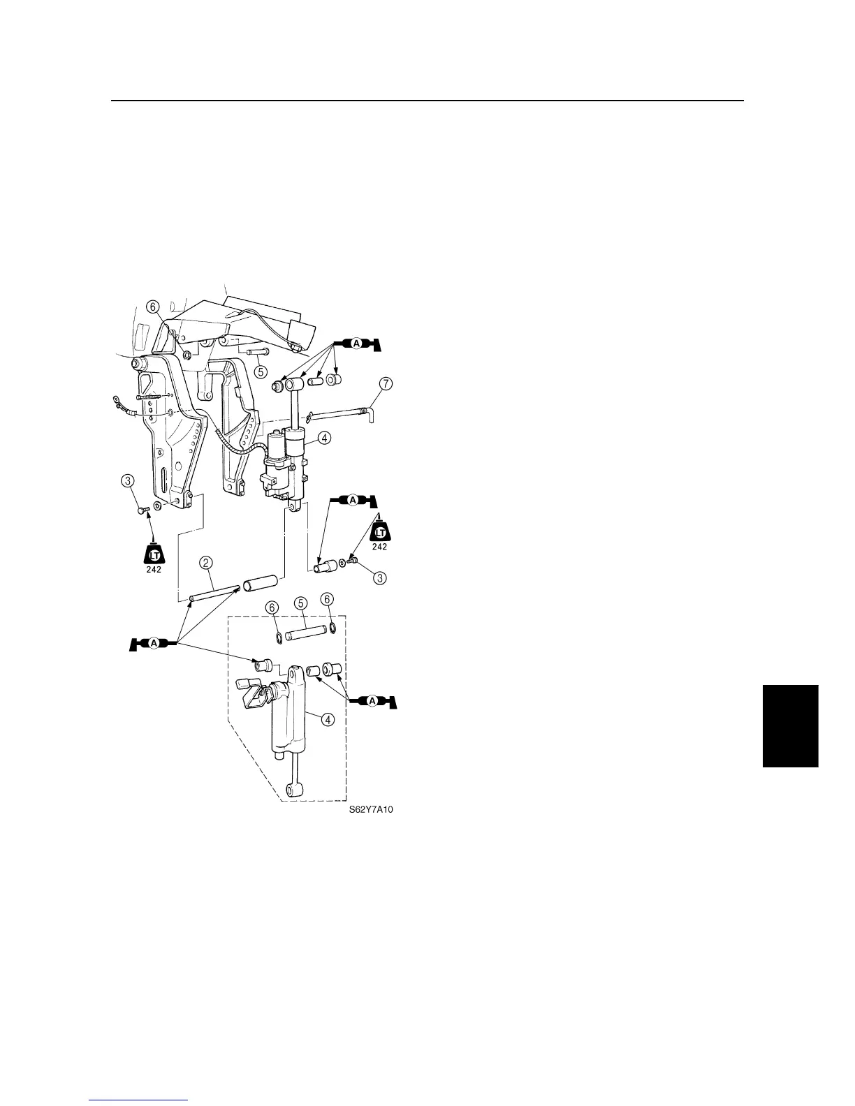
2. Install the shaft
2
and bolts
3
onto both
clamp brackets together with the power
trim and tilt/hydro tilt
4
.
3. Install the tilt ram upper end into the
swivel bracket with the shaft
5
and cir-
clip(s)
6
.
4. Install the tilt pin
7
.
Power trim and tilt motor

Table of Contents

Related product manuals