EasyManua.ls Logo

YASKAWA GA500 series - Programming Mode; Change Parameter Settings

YASKAWA GA500 series
526 pages
To Next Page IconTo Next Page
To Next Page IconTo Next Page
To Previous Page IconTo Previous Page
To Previous Page IconTo Previous Page
Loading...
Startup Procedure and Test Run
3
3.2 Overview of Keypad Components and Functions
YASKAWA TOEPYAIGA5002A GA500 Programming 463
User Parameters Parameter Name
A2-25 L1-01 Motor Overload (oL1) Protection
A2-26 L3-04 Stall Prevention during Decel
Note:
When you change A1-02 [Control Mode Selection], the settings of some parameters automatically change.
This manual also shows parameters that are not in Setup Mode. Use the to set the parameters not shown in the Setup Mode.
Display parameters change when the A1-06 [Application Preset] setting changes.
Programming Mode
In Programming Mode, you can set parameters or do Auto-Tuning. This mode has 4 sub-modes for different
programming requirements:
Verify Menu: Use this mode to examine and set the parameters that are not at default settings.
Setup Mode: Use this mode to see and set the minimum parameters necessary for drive operation. Refer to Verify
and Set the Changed Parameters (Verify Menu) on page 464 for more information.
Parameter Setting Mode: Use this mode to see and set all parameters.
Auto-Tuning Mode: Use this mode to automatically set the motor parameters necessary for each control method.
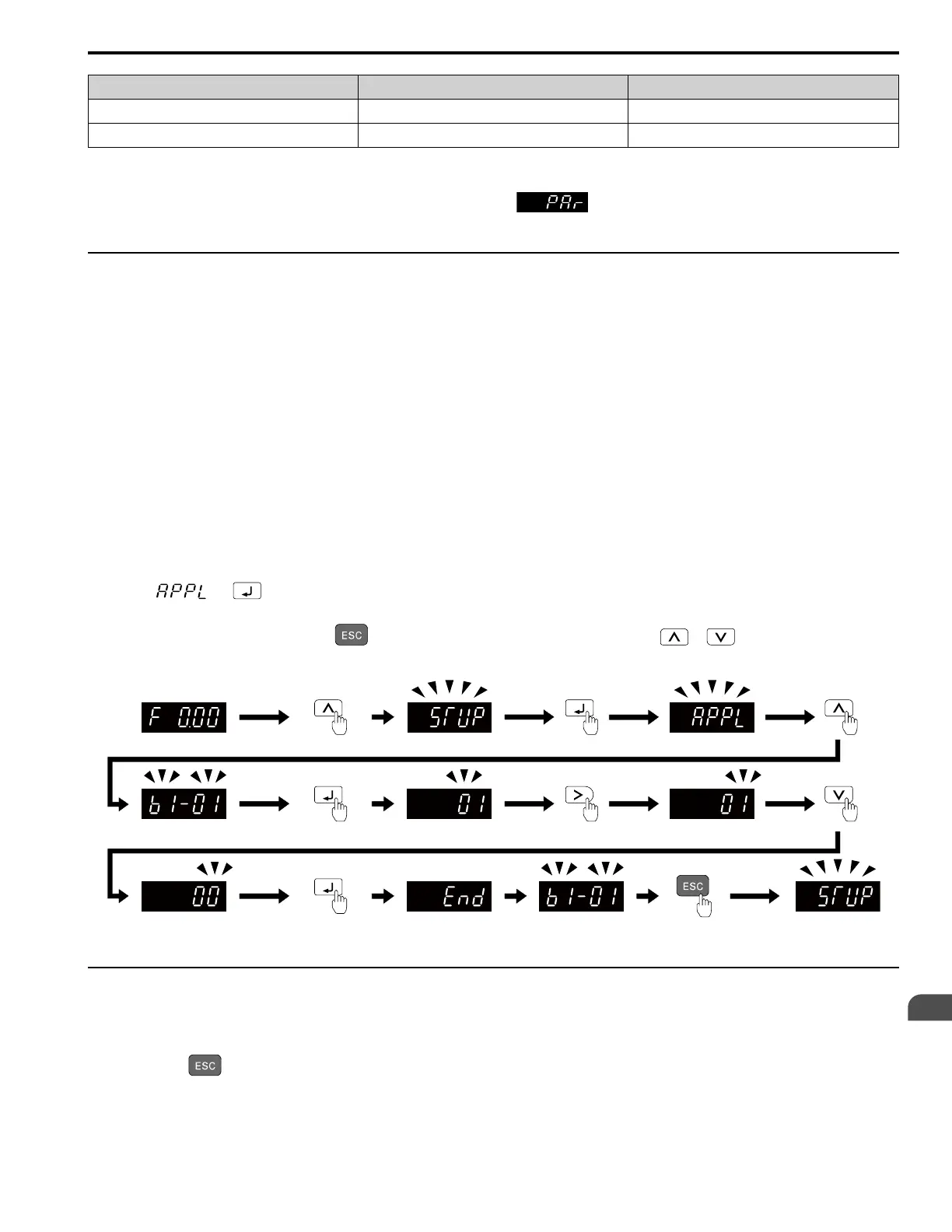
Setup Mode
In Setup Mode, you can see and set the minimum parameters necessary for drive operation. Refer to Figure 3.6 for an
example.
Note:
1. Refer to Set up the Drive with General-Purpose Setup Mode on page 462 and Automatic Parameter Settings Optimized for Specific
Applications (Application Presets) on page 471 for more information about Setup mode parameters.
2. Push and to continue to the application selection screen. When you change the setting, it will optimize the parameter for
the application. The default setting is 0 [General-purpose].
3. To go back to the initial screen, push . To change another parameter in Setup Mode, push or .
Change b1-01 [Frequency Reference Selection 1] from 1 [Analog Input] to 0 [Keypad].
Figure 3.6 Key operation examples in Setup Mode
Change Parameter Settings
Show the frequency reference screen in advance.
Note:
Push and hold to go back to the frequency reference screen from any screen.
Use these steps to change C1-01 [Acceleration Time 1] from 1.0 s (default) to 2.0 s.

Table of Contents

Other manuals for YASKAWA GA500 series

Related product manuals