EasyManua.ls Logo

Alpine iLX-507E - External Component Connections; External Device and Amplifier Connections

Alpine iLX-507E
80 pages
Print Icon
To Next Page IconTo Next Page
To Next Page IconTo Next Page
To Previous Page IconTo Previous Page
To Previous Page IconTo Previous Page
Loading...
ALPINE iLX-F509E 68-41657Z84-A (EN)ALPINE iLX-F509E 68-41657Z84-A (EN)
76-EN
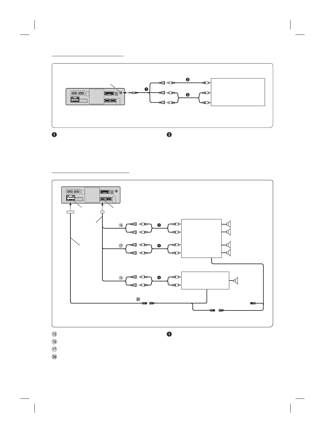
Connection of an External Device
AUX Input Connector
(Red)
(White)
To Video Output terminal
To Audio Output terminal
External Device
(sold separately)
(Yellow)
AV/RCA Interface Cable (4-pole mini AV plug to
3-RCA) (sold separately)
RCA Extension Cable (sold separately)
You can change the name of an external device. For details, refer to “Setting the Auxiliary (AUX) Name” in the OWNERS
MANUAL.
Connection of an External Amplifier
PRE OUT Connector
Power Supply
Connector
Power cable
PRE OUT
cable
REMO
(Blue/White)
REMOTE ON
(Blue/White)
REMOTE ON
(Blue/White)
SUBW
Amplifier for subwoofer
(sold separately)
To subwoofer input terminal
FRONT OUT
REAR OUT
To front input terminal
Amplifier 4 ch
(sold separately)
To rear input terminal
(Red)
(Red)
(White)
(White)
Subwoofer
Front speaker
Rear speaker
Subwoofer RCA Connectors
Front Output RCA Connectors
Rear Output RCA Connectors
Remote Turn-On Lead (Blue/White)
RCA Extension Cable (sold separately)
amera
CAN I/F cable
Power Supply Connector
Power cable
CAN I/F Connector
Reverse
(Orange/White)
Camera extension cable
(included with direct rearview camera)
Rear Camera (sold separately)
Front or Side Camera
(sold separately)
REAR CAMERA
FRONT CAMERA Camera extension cable
(included with direct frontview camera)
Connect to the plus side of the cars reverse lamp.
ead (Orange/White)
AMERA Input Connector

Table of Contents

Related product manuals