EasyManua.ls Logo

Calorex PPT12 - Main Assembly Ppt 22 Aly

Calorex PPT12
119 pages
Print Icon
To Next Page IconTo Next Page
To Next Page IconTo Next Page
To Previous Page IconTo Previous Page
To Previous Page IconTo Previous Page
Loading...
Page 97
Calorex Heat Pumps Ltd. · The Causeway, Maldon, Essex CM9 4XD, UK
Technical Manual
PPT8/12/16/22LX/LY SLIMLINE
SD638160 ISSUE 22d
®
i
15
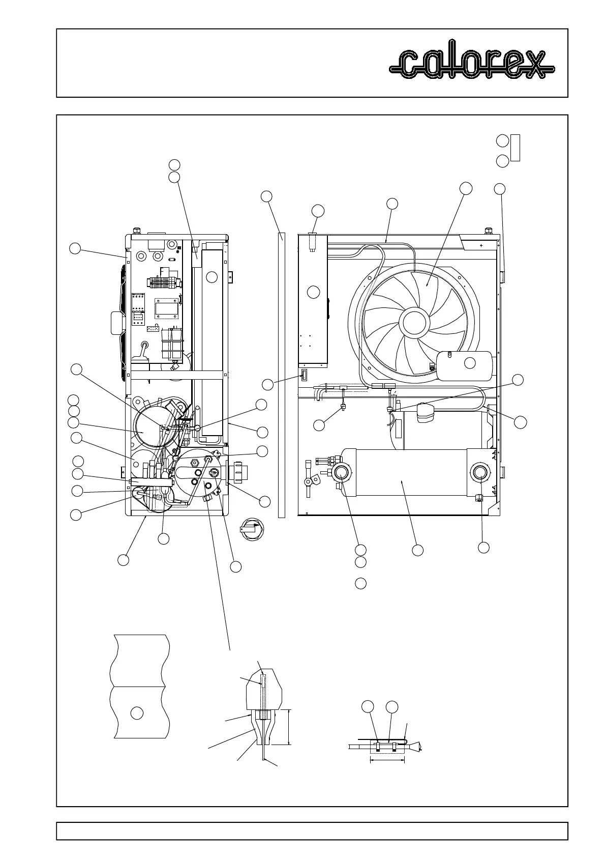
MAIN ASSEMBLY PPT 22 ALY
3
2
USE
OR
29 30
86
2
85
2
12
2
82
OR
90
R407c
EARTH
BLOCK
12131415
N
L
5 6 7 8 9
'Y'
VRSN
ONLY
REVERSING
VALVE
WATER
FLOW
SWITCH
FAN
CAP
FAN
N
FAN
L
161718191011
4
6
7
13
FAN LOOM
27
96
97
NOTE
DIRECTION
OF ARROW
FIT WASHER SUPPLIED
FLOW SWITCH TO BE
HAND TIGHT (8Nm)
DO NOT USE A TOOL
108
OUT
14
28
17
18
25
78
10
5
93
95
94
8
16
'J'
334.00
REF
SWAGE END TO ALLOW
INSERTION OF 3/4" PIPE
DETAIL A
418.00 REF
334.00 REF
A637827s2
A637827s2
SHOP BUILD
PPT22 ALY
2 3 A1 PJ 1:425/01/12
SEE SHEET 1 FOR CURRENT I SSUE NUMBER
C/N
DATE
R
c
U.C.C.
CALOREX HEAT PUMPS LTD
MATERIAL
FINISH
TOLERANCE UNLESS SPECIFIED
HOLES TO BS 4500 E12
INSPECTION LEVEL DIMS
SHT No. CONT' DRAWN
ALL SHARP EDGES AND BURRS TO BE REMOVED
DRG No.
APPROVED DATE SCALE
DO NOT SCALE PRINT
3rd ANGLE PROJECTION
IF IN DOUBT ASK
TITLE
DRG No.
DRAWING CHANGE
UNCONTROLLED WHEN PRINTED
WATER TEMPERATURE
SENSOR PROBE POCKET
(SEE FIG.2)
076
098
098
104
088
090 038
089
103
075
101038
102
077
021
050051O92
093
026
070
PROCESS PORT -
PIPE TO BE SEALED AND
SECURED AFTER FINAL TEST
(SEE SHEET 3)
ITEM 21 MUST BE FITTED PRIOR
TO SECURING BASEPLATE TO PALLET
031
091
022
074040
EARTH STUD
SEE FIG.8 ON
SHEET 4
100040
052 043 107
2
SEE FIG 4
EVAP STUB DIMENSIONS
SEE DETAIL A
095
ENSURE THAT COIL IS
SECURED TO VALVE BODY
WITH M4 SCREW SUPPLIED
010
080
035
2
040 072
CRUSH JOINT
SEE SHT 4 FIG.9
065
CRIMP INLET PORT
TO CREATE CLOSED SEAL
FIG.2
TEMP PROBE DETAIL
85.00
CONDENSER WATER
TEMPERATURE POCKET
SENSOR PROBE
(PART OF ITEM 20)
C/TIE AROUND
CABLE
C/TIE AROUND
POCKET NUT
PLACE THERMAL MASTIC INTO POCKET
THEN FULLY INSERT PROBE.
036
036
041
INSULATION
GREY
PROBE CABLE
NOTE:
FIXINGS OPPOSITE TO PROBE
DEFROST PROBE
FITTED TO EVAPORATOR
MANIFOLD. SEE FITTING
INSTRUCTIONS D389750.
CABLE TO ENTER
FROM UNDERSIDE.
IMPORTANT:
MAINTAIN DRIP LOO P
AS SHOWN
FIG 3
SHOWING DEROST PROBE POSITIO N
105
066 067 068
2 2 2
019
037
036
3
140.00
EVAP
ITEM 52
BAFFLE PLATE
INSULATION
FIG.4
ITEM 107 J
ITEM 107 N
21
85
CONDENSER WATER
TEMPERATURE POCKET
SENSOR PROBE
(PART OF ITEM 20)
CABLE
CABLE TIE
AROUND
POCKET NUT
PLACE THERMAL MASTIC INTO POCKET
THEN FULLY INSERT PROBE.
INSULATION
GREY
PROBE
CABLE
NOTE:
FIXINGS OPPOSITE TO PROBE
CABLE TO ENTER
FROM UNDERSIDE.
IMPORTANT:
MAINTAIN DRIP LOOP
AS SHOWN
105
19
140
21
31
98
22
23
26
CABLE TIE
AROUND
24

Table of Contents

Other manuals for Calorex PPT12

Related product manuals